授权公布号:CN214385156U
一种带有分体式传动机构的割草机
有效
申请
2021-02-02
申请公布
1970-01-01
授权
2021-10-15
预估到期
2031-02-02
| 申请号 | CN202120294766.0 |
| 申请日 | 2021-02-02 |
| 授权公布号 | CN214385156U |
| 授权公告日 | 2021-10-15 |
| 分类号 | A01D69/06;A01D34/76;A01D34/82 |
| 分类 | 农业;林业;畜牧业;狩猎;诱捕;捕鱼; |
| 申请人名称 | 淮安中绿园林机械制造有限公司 |
| 申请人地址 | 江苏省淮安市淮阴区翔宇北道629号 |
专利法律状态
2021-10-15
授权
状态信息
授权
摘要
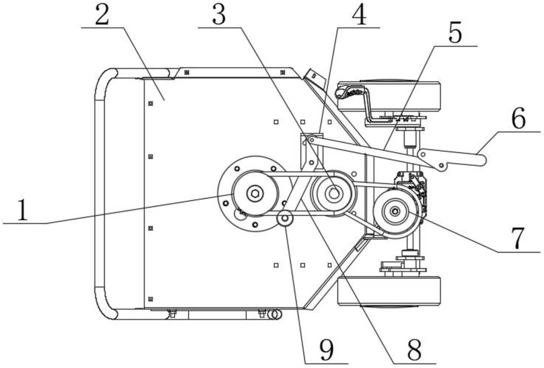
本实用新型公开了一种带有分体式传动机构的割草机,包括刀架,所述刀架的后表面笃定装设有机架,所述刀架的前表面一侧转动装设有动力源轮组,所述刀架的前表面转动装设有刀组传动轮,所述刀架与刀组传动轮之间连接装设有第一三角带,所述刀架与刀组传动轮通过第一三角带传动连接,且所述刀架的一端位于机架上固定设置有自走轮,且所述自走轮的内侧固定装设有减速器;在使用时,可通过动力源轮组同步带动刀组传动轮与第二传动轮工作,使该装置可自动前进,且在前进时可配节割草使用,同时控制结构简单,方便使用操作,便于检修维护,提高了该装置的实用性。


