授权公布号:CN210552913U
一种塑料管材牵引装置
有效
申请
2019-07-18
申请公布
1970-01-01
授权
2020-05-19
预估到期
2029-07-18
| 申请号 | CN201921130729.5 |
| 申请日 | 2019-07-18 |
| 授权公布号 | CN210552913U |
| 授权公告日 | 2020-05-19 |
| 分类号 | B29C48/355;B29C48/09 |
| 分类 | 塑料的加工;一般处于塑性状态物质的加工; |
| 申请人名称 | 湖北钟格塑料管有限公司 |
| 申请人地址 | 湖北省荆门市钟祥市钟祥市工业园区 |
专利法律状态
2020-05-19
授权
状态信息
授权
摘要
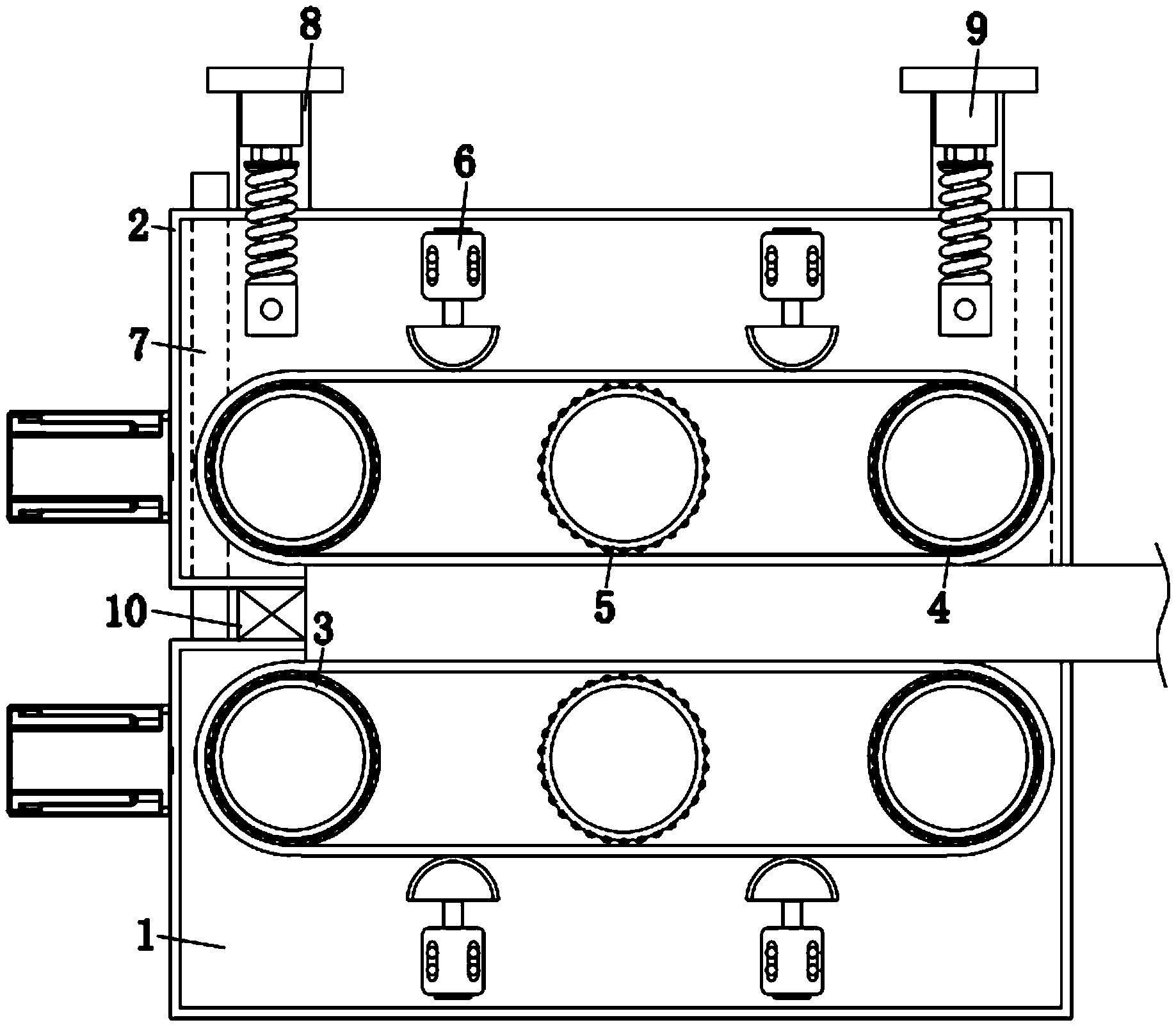
本实用新型公开了一种塑料管材牵引装置,涉及工业加工技术领域。包括第一牵引部和第二牵引部,第一牵引部的顶部固定连接有和第二牵引部套接的立柱,第一牵引部和第二牵引部的前部由左至右均依次通过活动轴活动连接有通过传动带传动连接的主动牵引轮、辅助轮和被动牵引轮,第一牵引部和第二牵引部的前部固定连接有位于传动带上下表面的张紧机构,张紧机构包括张紧块、升降轴和张紧压头,第一牵引部的顶部固定连接有位于第二牵引部背部的固定背板。通过设置张紧机构,在传动带长久以往产生松垮之后,调节升降轴使得张紧压头将传动带压紧,使得传动带和被移动管材之间进行张紧形传动,避免打滑,提高牵引效果。


