授权公布号:CN210552906U
一种波纹管成型模头
有效
申请
2019-07-18
申请公布
1970-01-01
授权
2020-05-19
预估到期
2029-07-18
| 申请号 | CN201921130743.5 |
| 申请日 | 2019-07-18 |
| 授权公布号 | CN210552906U |
| 授权公告日 | 2020-05-19 |
| 分类号 | B29C48/32;B29C48/13 |
| 分类 | 塑料的加工;一般处于塑性状态物质的加工; |
| 申请人名称 | 湖北钟格塑料管有限公司 |
| 申请人地址 | 湖北省荆门市钟祥市工业园区 |
专利法律状态
2020-05-19
授权
状态信息
授权
摘要
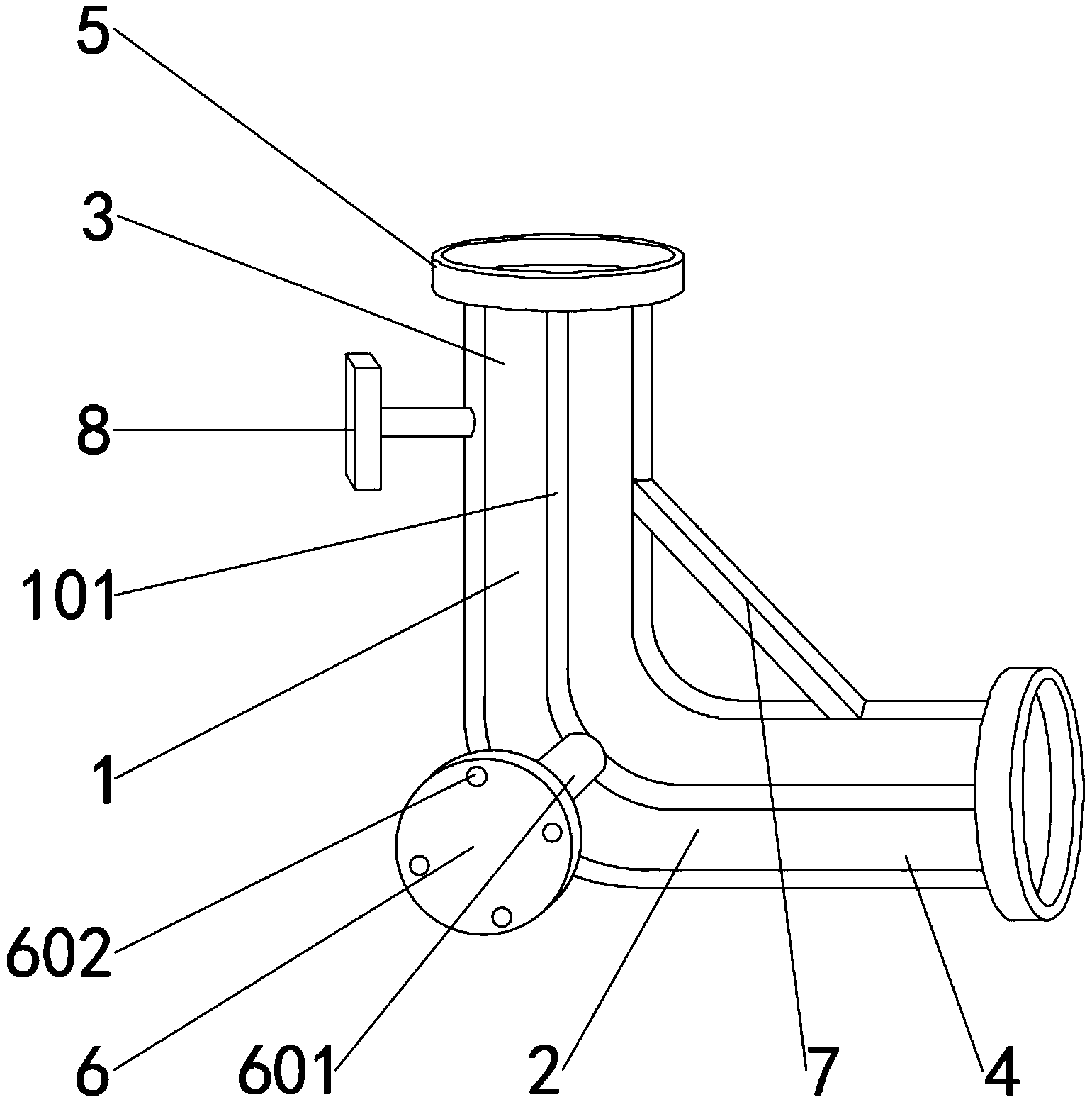
本实用新型属于管材成型模块技术领域,尤其为一种波纹管成型模头,包括竖管和横管,所述所述竖管的下端与横管的左端固定连接,所述竖管的上端安装有入水口,所述横管的右侧安装有出水口,所述固定杆的另一端固定连接有固定盘,所述竖管与横管连接处的内壁固定连接有缓冲膜,所述缓冲膜内壁的顶端固定连接有受力块,所述受力块的下端面固定连接有弹簧,所述弹簧的另一端与竖管内壁的底端固定连接,通过在横管内壁的底端设置有缓冲膜,当液体从竖管流入横管时水压变大,进而受力块向左下方移动并使弹簧压缩,然后缓冲膜凹陷,进而缓冲膜根据不同水压而改变凹陷程度,从而达到对流水的缓冲效果。


