授权公布号:CN210940380U
一种双螺杆挤出装置
有效
申请
2019-07-18
申请公布
1970-01-01
授权
2020-07-07
预估到期
2029-07-18
| 申请号 | CN201921130741.6 |
| 申请日 | 2019-07-18 |
| 授权公布号 | CN210940380U |
| 授权公告日 | 2020-07-07 |
| 分类号 | B29C48/40 |
| 分类 | 塑料的加工;一般处于塑性状态物质的加工; |
| 申请人名称 | 湖北钟格塑料管有限公司 |
| 申请人地址 | 湖北省荆门市钟祥市工业园区 |
专利法律状态
2020-07-07
授权
状态信息
授权
摘要
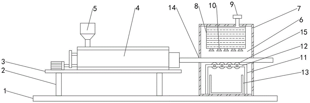
本实用新型公开了一种双螺杆挤出装置,包括底板、两个支撑杆和支撑板,两个所述支撑杆的下端面与底板的上端面固定连接,两个所述支撑杆的上端面与支撑板的下端面固定连接,所述支撑板的上端面安装有挤出机本体,所述挤出机本体包括挤出机筒体和电机,所述挤出机筒体位于电机的右侧,所述挤出机筒体的内部从上到下分别安装有第一螺杆和第二螺杆,所述第一螺杆的左右两侧分别转动连接有第一转轴座和第三转轴座,利用从动轮和主动轮通过皮带转动连接,减少动力源设备,进而节约设备方面的购买和使用成本旨在解决现有挤出加工设备结构发杂,动力源设备繁杂,进而提高了生产成本,且现有技术降温效果不佳,降低了生产效率。


