授权公布号:CN213674254U
一种PVC塑料管材切割装置
有效
申请
2020-11-19
申请公布
1970-01-01
授权
2021-07-13
预估到期
2030-11-19
| 申请号 | CN202022698297.7 |
| 申请日 | 2020-11-19 |
| 授权公布号 | CN213674254U |
| 授权公告日 | 2021-07-13 |
| 分类号 | B26D1/06;B26D3/16;B26D7/00;B26D7/18;B26D7/32 |
| 分类 | 手动切割工具;切割;切断; |
| 申请人名称 | 湖北钟格塑料管有限公司 |
| 申请人地址 | 湖北省荆门市钟祥市工业园区 |
专利法律状态
2021-07-13
授权
状态信息
授权
摘要
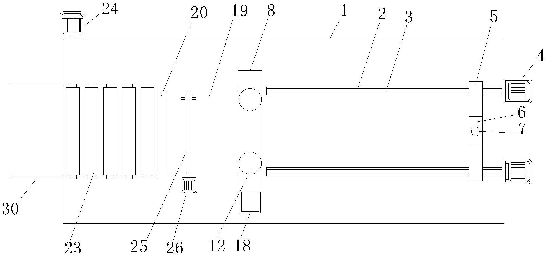
本实用新型公开了一种PVC塑料管材切割装置,包括一切割台,所述切割台顶部的右侧开设有两个水平平行的滑槽,所述滑槽内安装有可转动的第一丝杆,所述切割台的右侧壁固设有两个第一电机,两个第一电机的输出端分别与其对应侧的第一丝杆同轴固定。本实用新型涉及PVC管材切割技术领域,该PVC塑料管材切割装置,通过设置封闭式切割机构,代替了传统的开放式切割机构,此举的目的在于避免切割产生的粉尘弥漫,并且可自动排放废料,实现自动收集废料,既环保又方便;进一步的,切割后的管材途径流转台,经过纠偏后,可按照统一方向自动卸料,无需人工参与,大大节省体力。


