授权公布号:CN213674459U
一种具有夹持固定结构的塑料管材打孔机
有效
申请
2020-11-19
申请公布
1970-01-01
授权
2021-07-13
预估到期
2030-11-19
| 申请号 | CN202022699309.8 |
| 申请日 | 2020-11-19 |
| 授权公布号 | CN213674459U |
| 授权公告日 | 2021-07-13 |
| 分类号 | B26F1/16;B26D7/02 |
| 分类 | 手动切割工具;切割;切断; |
| 申请人名称 | 湖北钟格塑料管有限公司 |
| 申请人地址 | 湖北省荆门市钟祥市工业园区 |
专利法律状态
2021-07-13
授权
状态信息
授权
摘要
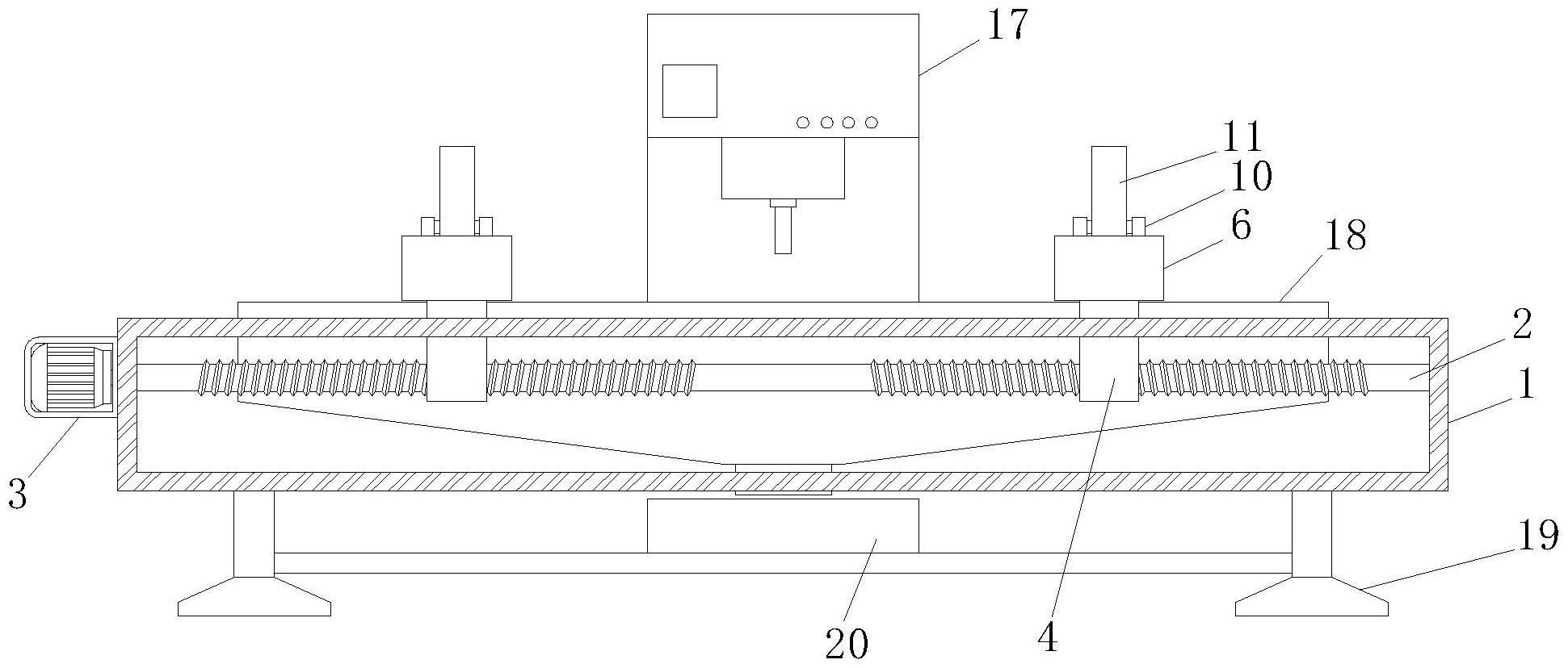
本实用新型公开了一种具有夹持固定结构的塑料管材打孔机,包括一机台,所述机台的内壁安装有可转动的第一丝杆,所述机台的一侧壁固设有第一电机,所述第一电机的输出端与其对应侧的第一丝杆同轴固定。本实用新型涉及塑料管材加工技术领域,该具有夹持固定结构的塑料管材打孔机,通过设置可调间距的夹持机构,可对不同长度的管材进行夹持,通过设置按压式夹持固定机构,通过借助于管材自身的重力,自动触发夹持固定机构,从而将管材自动夹紧,整个夹持固定过程瞬间完成,响应速度极快,操作方便,节省了工时,提高了效率。


