授权公布号:CN213766787U
一种塑料管材冷却装置
有效
申请
2020-11-19
申请公布
1970-01-01
授权
2021-07-23
预估到期
2030-11-19
| 申请号 | CN202022698257.2 |
| 申请日 | 2020-11-19 |
| 授权公布号 | CN213766787U |
| 授权公告日 | 2021-07-23 |
| 分类号 | B29C35/16;B29C37/00;B29L23/00N |
| 分类 | 塑料的加工;一般处于塑性状态物质的加工; |
| 申请人名称 | 湖北钟格塑料管有限公司 |
| 申请人地址 | 湖北省荆门市钟祥市工业园区 |
专利法律状态
2021-07-23
授权
状态信息
授权
摘要
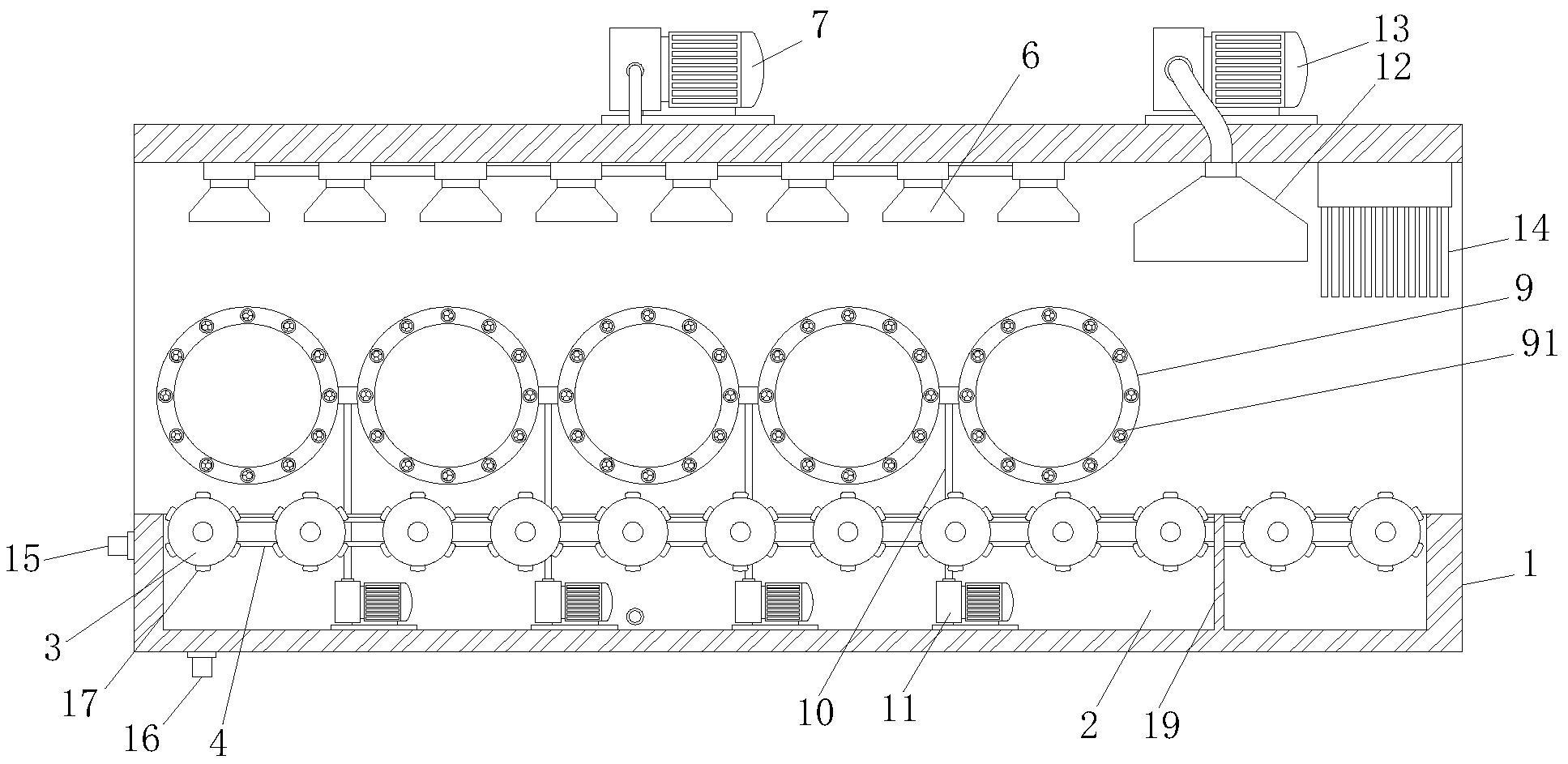
本实用新型公开了一种塑料管材冷却装置,包括一左右贯通的冷却箱,所述冷却箱的底部设置有冷却池,所述冷却池的侧壁安装有多个可转动的输送辊,多个所述输送辊之间通过链带传动连接,所述输送辊的顶部均裸露至冷却池的顶部外,所述冷却箱的一侧壁固设有电机。本实用新型涉及管材冷却技术领域,该塑料管材冷却装置,通过设置内外同步喷淋机构,从而可实现对管材内外壁同步喷淋降温的目的,代替了传统仅通过喷淋管材外壁实现降温的,有效解决了管材内外壁冷却不均的现象,同时该喷淋机构采用循环水模式,提高了资源的利用率,更进一步的,在降温后,通过除水机构可对管材表壁进行除水,方便转移。


