授权公布号:CN109538843B
一种可分支的天然气管道
有效
申请
2019-01-08
申请公布
2019-03-29
授权
2020-12-25
预估到期
2039-01-08
| 申请号 | CN201910015896.3 |
| 申请日 | 2019-01-08 |
| 申请公布号 | CN109538843A |
| 申请公布日 | 2019-03-29 |
| 授权公布号 | CN109538843B |
| 授权公告日 | 2020-12-25 |
| 分类号 | F16L9/14;F16L59/16 |
| 分类 | 工程元件或部件;为产生和保持机器或设备的有效运行的一般措施;一般绝热; |
| 申请人名称 | 湖北钟格塑料管有限公司 |
| 申请人地址 | 湖北省荆门市钟祥市工业园区 |
专利法律状态
2023-08-18
专利权质押合同登记的生效、变更及注销
状态信息
专利权质押合同登记的生效;IPC(主分类):F16L9/14;专利号:ZL2019100158963;登记号:Y2023980050620;登记生效日:20230803;出质人:湖北钟格塑料管有限公司;质权人:中国工商银行股份有限公司钟祥支行;发明名称:一种可分支的天然气管道;申请日:20190108;授权公告日:20201225
2020-12-25
授权
状态信息
授权
2020-12-22
专利申请权、专利权的转移
状态信息
专利申请权的转移;IPC(主分类):F16L9/14;登记生效日:20201210;变更事项:申请人;变更前:中鸥(湖北)知识产权服务有限公司;变更后:湖北钟格塑料管有限公司;变更事项:地址;变更前:430000 湖北省武汉市武昌区丁字桥路文安街中南SOHO城1单元6层26号房;变更后:431900 湖北省荆门市钟祥市工业园区
2020-12-18
专利申请权、专利权的转移
状态信息
专利申请权的转移;IPC(主分类):F16L9/14;登记生效日:20201207;变更事项:申请人;变更前:邹凯;变更后:中鸥(湖北)知识产权服务有限公司;变更事项:地址;变更前:510000 广东省广州市天河区黄埔大道西668号;变更后:430000 湖北省武汉市武昌区丁字桥路文安街中南SOHO城1单元6层26号房
2019-04-23
实质审查的生效
状态信息
实质审查的生效;IPC(主分类):F16L9/14;申请日:20190108
2019-03-29
公布
状态信息
公布
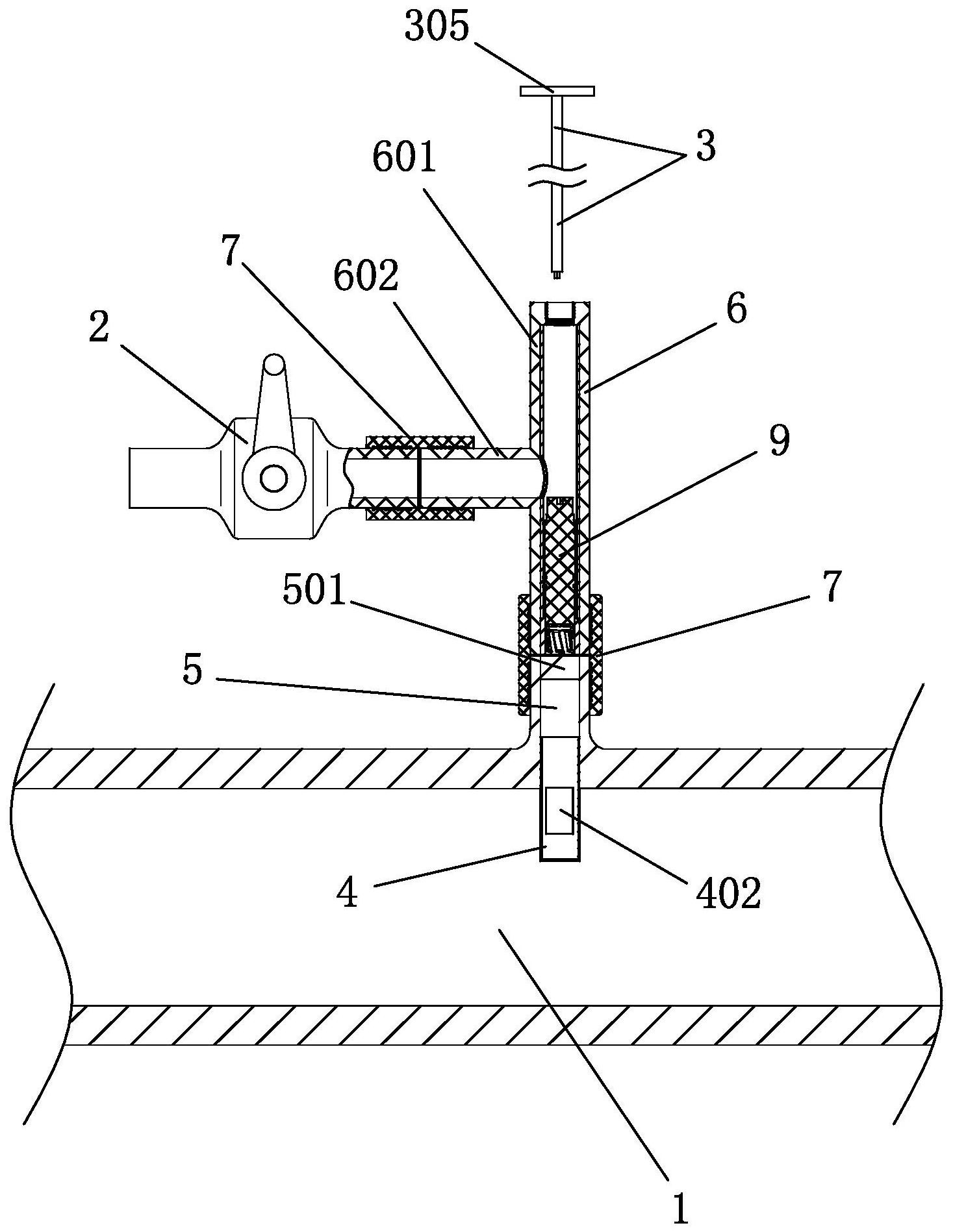
摘要
本发明公开了一种可分支的天然气管道,涉及天然气管道技术领域,至少包括管体,所述管体上设有一放散机构,所述放散机构至少包括一放散管、一出气管、一放散阀和一可拆卸的驱动杆;放散管内横设有一用于密封放散管管孔的密封隔板,位于管体内部的放散管下端开口处定位有一集灰筒,所述出气管包括一主管与一支管,所述主管内同轴设有一套管,套管内设有一可沿套管内壁上下滑动的开孔器,所述开孔器与套管内壁之间为滑动密封配合。本发明提出一种无需切断天然气运输即可开孔分支的天然气管道。


