授权公布号:CN216163456U
一种割草机
有效
申请
2021-10-22
申请公布
1970-01-01
授权
2022-04-05
预估到期
2031-10-22
| 申请号 | CN202122542797.6 |
| 申请日 | 2021-10-22 |
| 授权公布号 | CN216163456U |
| 授权公告日 | 2022-04-05 |
| 分类号 | A01D34/64;A01D69/06 |
| 分类 | 农业;林业;畜牧业;狩猎;诱捕;捕鱼; |
| 申请人名称 | 淮安中绿园林机械制造有限公司 |
| 申请人地址 | 江苏省淮安市淮阴区翔宇北道629号 |
专利法律状态
2022-04-05
授权
状态信息
授权
摘要
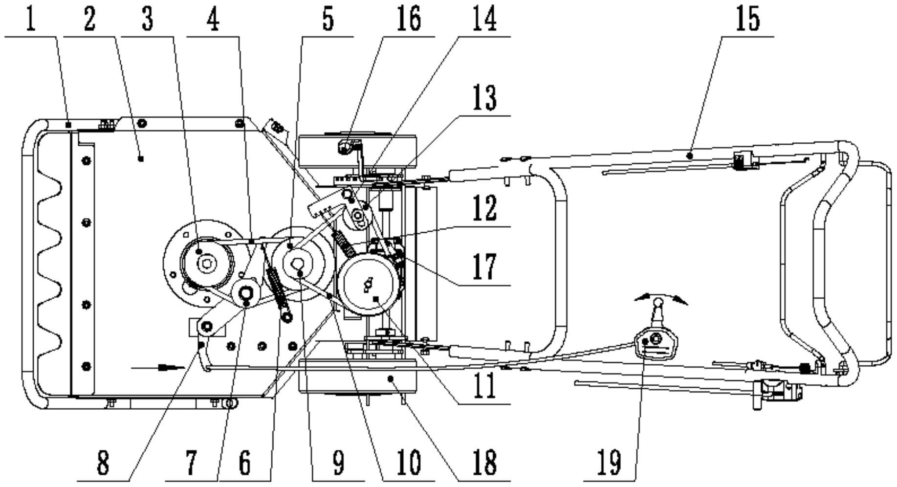
本实用新型公开了一种割草机,包括刀架,所述刀架的后表面笃定装设有机架,所述刀架的中央位置处装设有刀组,所述刀组上装设有刀组传动轮A,所述机架上装配有发动机动力源,且发动机动力源的输出轴上装设有主动轮A和主动轮B,所述主动轮A与刀组传动轮A之间连接装设有三角带A,且主动轮A与刀组传动轮A之间装设有张紧轮A,所述刀架的顶部转动设置有张紧板A;本实用新型结构新颖,操控简易,推行灵巧,本割草机通过两组带传动,实现割草与行走两个动作的分离,启动动力时,可不带刀组启动,易发着动力,同时前端设有滑行辅架,推行阻力小,动力分配更加合理、有效,由于动力后置,整机操控轻盈。


