授权公布号:CN210754491U
一种折弯机的压力调节装置
有效
申请
2019-10-29
申请公布
1970-01-01
授权
2020-06-16
预估到期
2029-10-29
| 申请号 | CN201921841037.1 |
| 申请日 | 2019-10-29 |
| 授权公布号 | CN210754491U |
| 授权公告日 | 2020-06-16 |
| 分类号 | B21D5/02 |
| 分类 | 基本上无切削的金属机械加工;金属冲压; |
| 申请人名称 | 安徽省亚威机床制造有限公司 |
| 申请人地址 | 安徽省马鞍山市博望区博望镇九博科技园西 |
专利法律状态
2020-06-16
授权
状态信息
授权
摘要
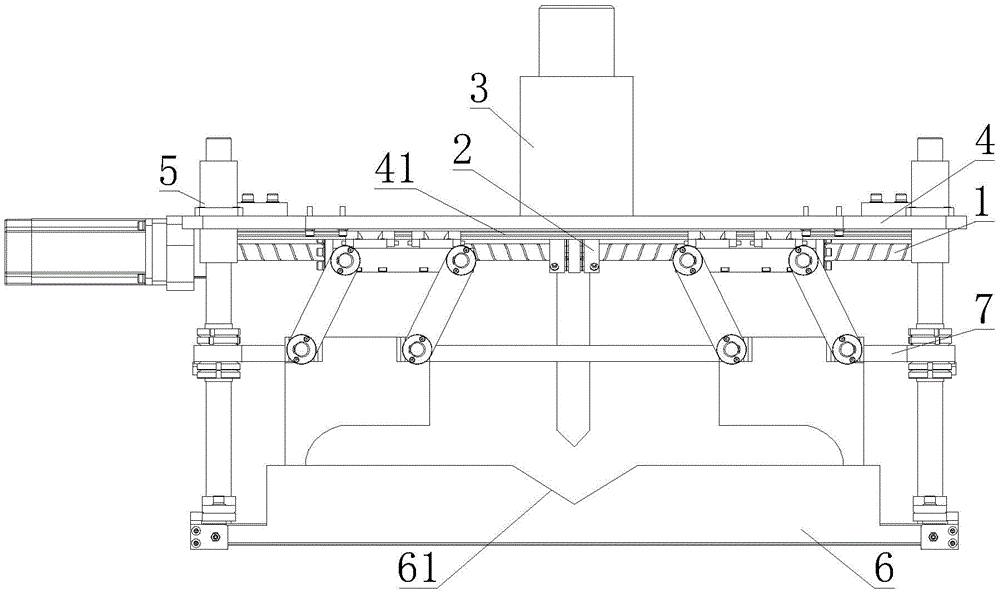
本实用新型公开了一种折弯机的压力调节装置,包括推进机构、折弯机构、顶板、立柱和底座,所述顶板的下表面开设有第一线性滑轨,所述顶板通过第一线性滑轨滑动连接有推进机构,所述顶板的中部安装有折弯机构;所述推进机构包括旋转电机、上滑块、下滑块、双铰杆和螺杆,所述顶板的下端安装有两根螺杆,两根所述螺杆通过螺纹连接有上滑块,所述上滑块的两端通过双铰杆连接有下滑块,两根所述螺杆的一端连接有旋转电机。本装置通过两个上滑块抵接于板体的两端,为垂直方向的压杆下压折弯提供侧向的辅助压力,通过控制电机调节工件受力力度,折弯件的两端高度被下滑块所限制,防止回弹,利于折弯件的精准定型。


