授权公布号:CN205563205U
一体化污水提升泵站污水压力监控系统
有效
申请
2016-04-29
申请公布
1970-01-01
授权
2016-09-07
预估到期
2026-04-29
| 申请号 | CN201620385180.4 |
| 申请日 | 2016-04-29 |
| 授权公布号 | CN205563205U |
| 授权公告日 | 2016-09-07 |
| 分类号 | G05B19/042 |
| 分类 | 控制;调节; |
| 申请人名称 | 荏原机械(中国)有限公司 |
| 申请人地址 | 北京市大兴区北臧村镇 |
专利法律状态
2016-09-07
授权
状态信息
授权
摘要
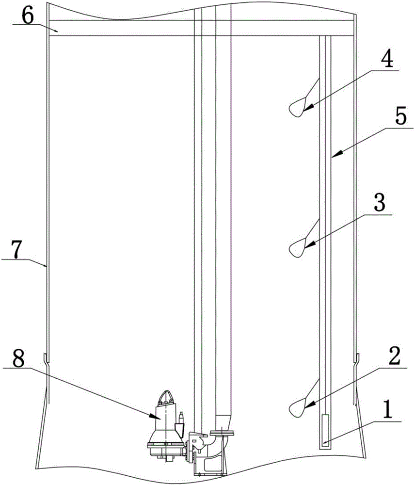
本实用新型涉及一种一体化污水提升泵站污水压力监控系统,属于污水提升技术领域。包括投入式压力变送器及浮球开关,所述投入式压力变送器通过固定在服务平台底部的压力传感器保护管安装在泵站的筒体的底部,所述浮球开关安装在所述压力传感器保护管上,所述浮球开关为3个,分别为停泵液位浮球开关、启动液位浮球开关及报警液位浮球开关。还包括控制模块,所述控制模块采用单片机。本实用新型采用投入式压力变送器和浮球开关两种压力传感器对泵站内的污水压力进行实时监控,不但避免了仅采用其中一种压力传感器导致污水压力监控系统故障、泵站无法正常运作的情况,而且双重污水压力监控系统可适应更多污水水质,保证泵站的正常运行。


