授权公布号:CN218132237U
一种板蓝根颗粒制备的原料炒制研磨装置
有效
申请
2022-10-13
申请公布
1970-01-01
授权
2022-12-27
预估到期
2032-10-13
| 申请号 | CN202222696190.8 |
| 申请日 | 2022-10-13 |
| 授权公布号 | CN218132237U |
| 授权公告日 | 2022-12-27 |
| 分类号 | B02C7/08;A61J3/00 |
| 分类 | 破碎、磨粉或粉碎;谷物碾磨的预处理; |
| 申请人名称 | 桂林葛仙翁药业有限公司 |
| 申请人地址 | 广西壮族自治区桂林市荔浦荔柳路247号 |
专利法律状态
2022-12-27
授权
状态信息
授权
摘要
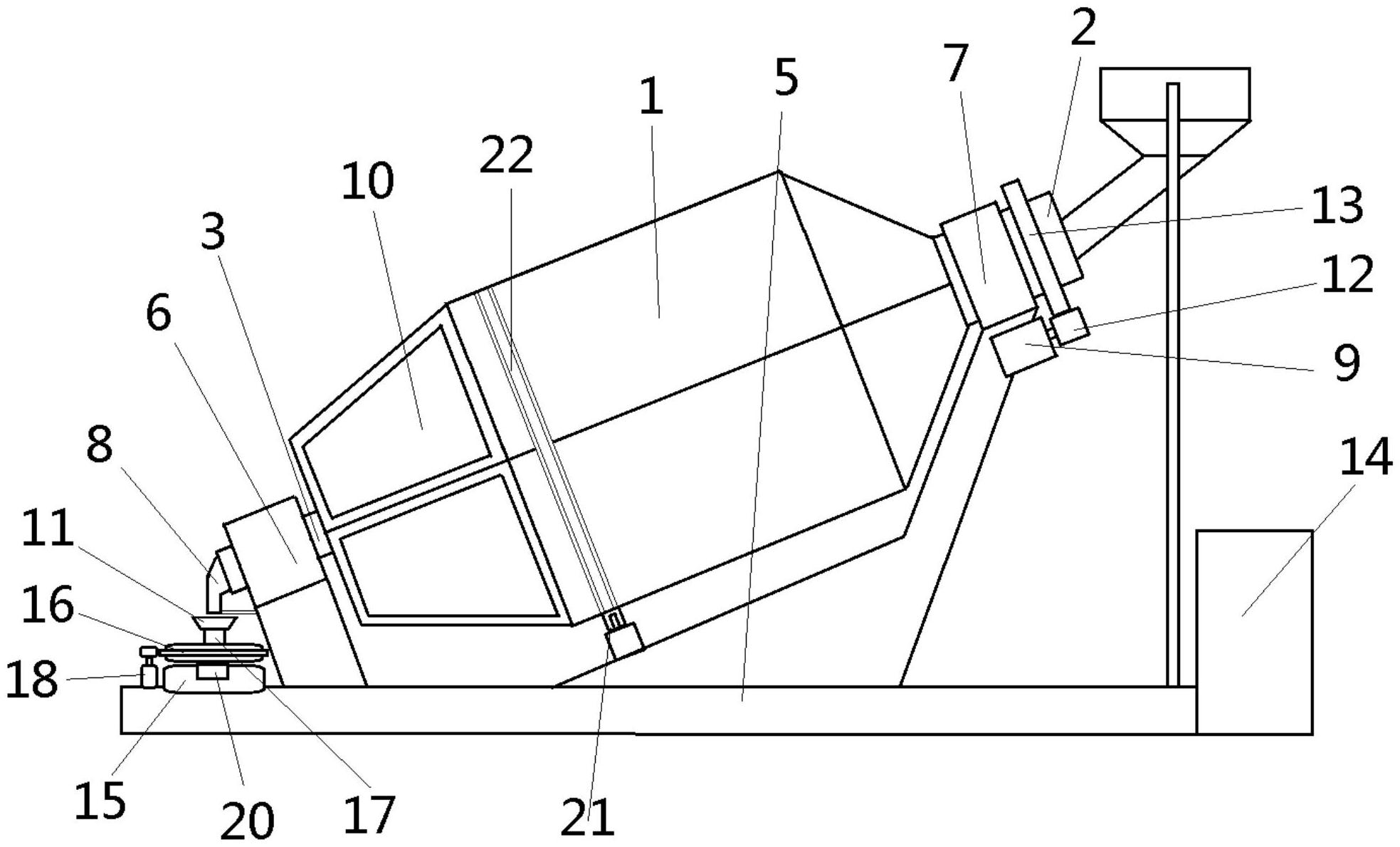
本实用新型涉及制药设备技术领域,具体涉及一种板蓝根颗粒制备的原料炒制研磨装置,其包括:转筒,转筒内侧壁固定设有多个翻炒片;翻炒架,转筒倾斜配合在翻炒架上方,并且翻炒架设有与空心轴配合的第一轴承架,以及与料口外壁配合的第二轴承架;驱动机构,驱动机构设置在第二轴承架上,并驱动转筒旋转;电热瓦,电热瓦为多个设置,并固定设置在转筒靠近第一轴承架一端的外侧壁上,各个电热瓦通过电枢部件与外部控制电源电性连接;研磨机构,研磨机构设置在导向槽下方,并且研磨机构顶部设有对应导向槽的进料斗。本实用新型通过转筒的连续翻滚,不但吞吐量大,而且还优化了原料的炒制效果,配合末端的研磨机构大大提高板蓝根颗粒的生产效率。


