授权公布号:CN217431658U
一种醋酸乙烯合成反应用活性炭催化剂定量加入装置
有效
申请
2022-04-29
申请公布
1970-01-01
授权
2022-09-16
预估到期
2032-04-29
| 申请号 | CN202221020967.2 |
| 申请日 | 2022-04-29 |
| 授权公布号 | CN217431658U |
| 授权公告日 | 2022-09-16 |
| 分类号 | B01J8/00;B65G65/48 |
| 分类 | 一般的物理或化学的方法或装置; |
| 申请人名称 | 木林森活性炭江苏有限公司 |
| 申请人地址 | 江苏省南京市江北新区方水路18号 |
专利法律状态
2022-09-16
授权
状态信息
授权
摘要
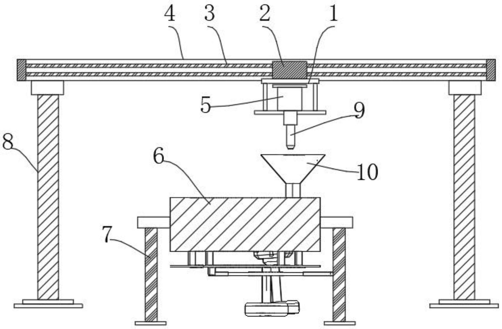
本实用新型公开了一种醋酸乙烯合成反应用活性炭催化剂定量加入装置,包括作业机架,无杠气缸组件,其设置在作业机架的前端表面,无杠气缸组件的表面安装有驱动滑块,驱动滑块的下端焊接固定有承载架,承载架上安装有电动注射机构,电动注射机构的下端设置有注射机管;催化剂储箱,催化剂储箱的内部安装有放置盘,放置盘的表面设置有固定槽,伺服马达的输出端通过转轴连接有主动轮,主动轮的表面通过皮带连接有从动轮,从动轮的表面中心处通过传动轴连接有转动卡盘。本实用新型通过对催化剂注射机构进行便捷式移动调节,同时设置有可转动调节的催化剂储箱,方便与上方注射机构进行对接,提高了催化剂的注射成型效率。


