授权公布号:CN216225735U
一种高纯电容炭生产用冲洗装置
有效
申请
2021-11-12
申请公布
1970-01-01
授权
2022-04-08
预估到期
2031-11-12
| 申请号 | CN202122771737.1 |
| 申请日 | 2021-11-12 |
| 授权公布号 | CN216225735U |
| 授权公告日 | 2022-04-08 |
| 分类号 | B08B3/02;B08B13/00 |
| 分类 | 清洁; |
| 申请人名称 | 木林森活性炭江苏有限公司 |
| 申请人地址 | 江苏省南京市江北新区方水路18号 |
专利法律状态
2022-04-08
授权
状态信息
授权
摘要
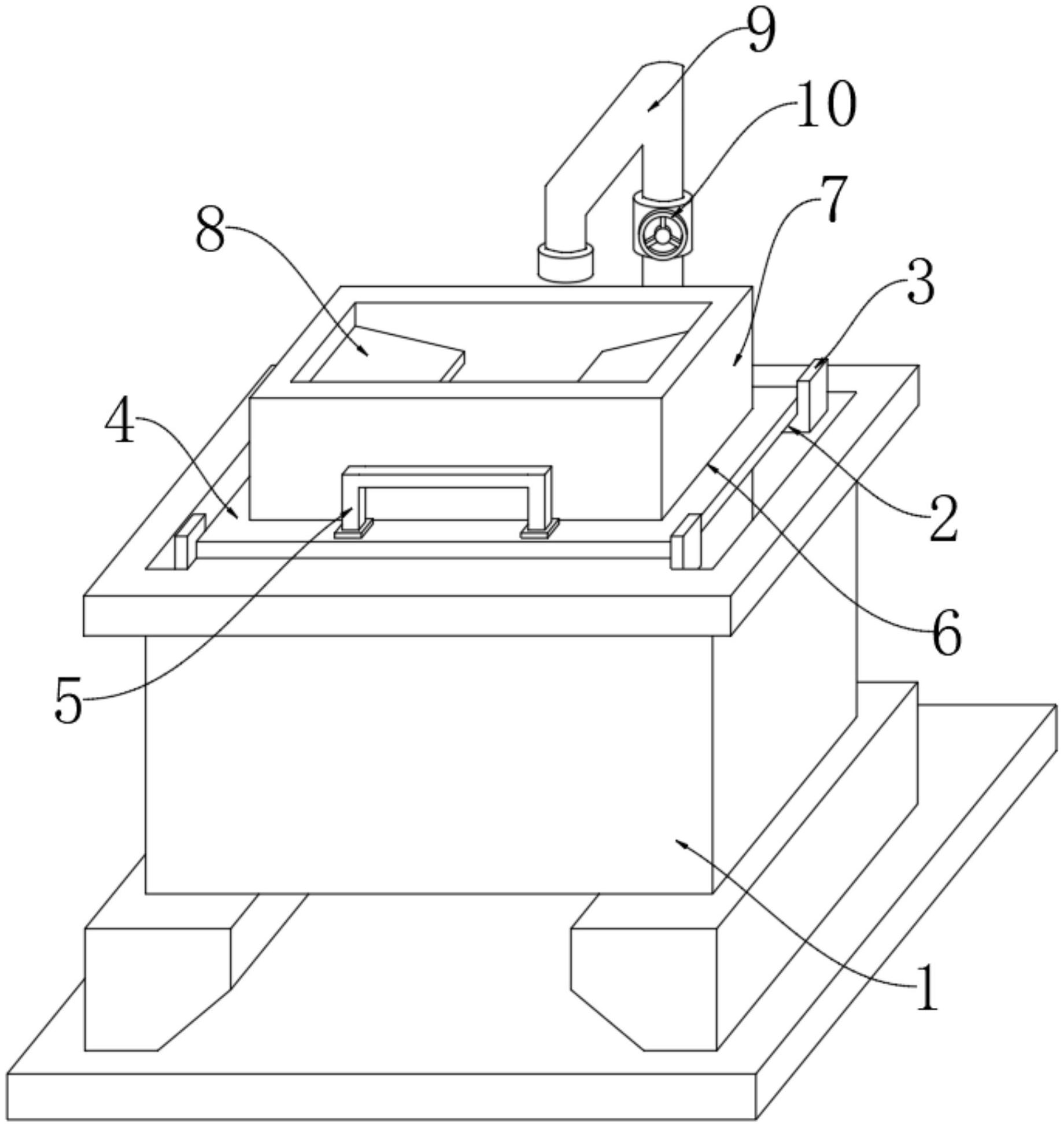
本实用新型公开了一种高纯电容炭生产用冲洗装置,涉及高纯电容炭生产技术领域,为解决现有的高纯度电容炭冲洗设备在使用时冲洗水都是直接浇洒到电容炭上,由于水的冲击力较大,容易发生电容炭破碎的问题。所述冲洗接水池的顶部内壁上设置有边沿支架板,两个所述边沿支架板的上端安装有悬挂框板,所述悬挂框板的底部设置有电容炭放置仓,电容炭放置仓与悬挂框板一体成型设置,所述电容炭放置仓的上端设置有安装插槽,所述安装插槽的内壁上设置有支撑框板,所述支撑框板的顶部安装有缓流框架,所述缓流框架的内部设置有两个导流板,两个所述导流板的下方设置有缓流板,所述缓流板的内部设置有滴水孔,所述冲洗接水池的后端位置上设置有冲洗水管。


