授权公布号:CN214715259U
一种新型用于活性炭设备的防尘装置
有效
申请
2021-04-07
申请公布
1970-01-01
授权
2021-11-16
预估到期
2031-04-07
| 申请号 | CN202120698262.5 |
| 申请日 | 2021-04-07 |
| 授权公布号 | CN214715259U |
| 授权公告日 | 2021-11-16 |
| 分类号 | B01D47/02 |
| 分类 | 一般的物理或化学的方法或装置; |
| 申请人名称 | 木林森活性炭江苏有限公司 |
| 申请人地址 | 江苏省南京市江北新区方水路18 |
专利法律状态
2021-11-16
授权
状态信息
授权
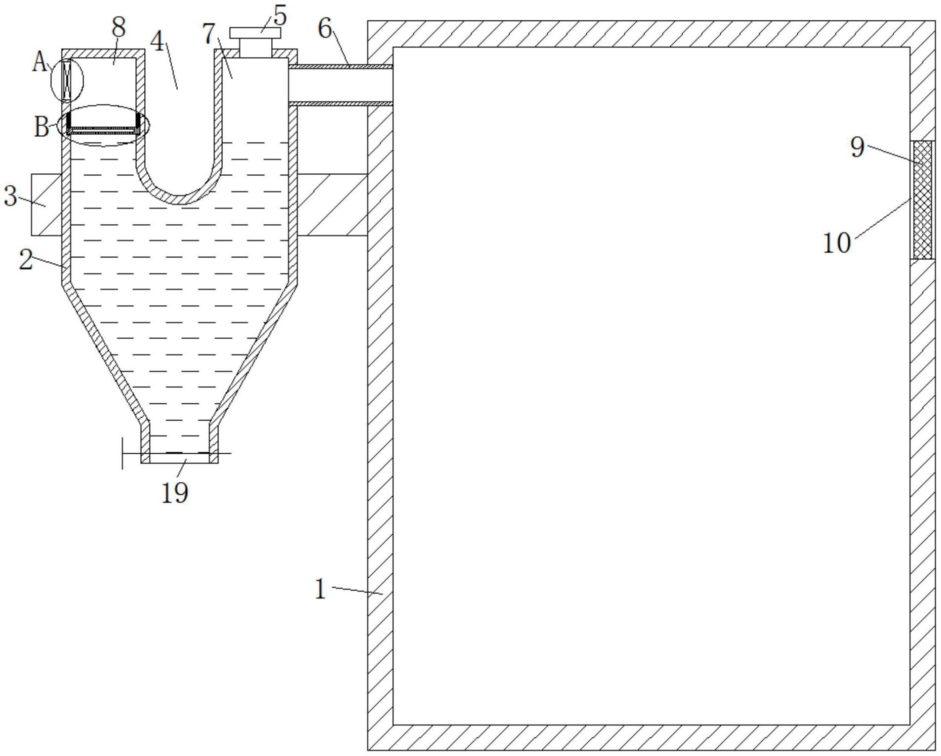
摘要
本实用新型公开了一种新型用于活性炭设备的防尘装置,包括设备箱,所述设备箱的一侧设有水箱,所述水箱的顶部设有U型槽,所述U型槽将水箱内部空腔靠近顶端处分为第一空腔和第二空腔,所述第二空腔的内侧壁上对称设有滑槽,所述滑槽的内部滑动连接有挡板,所述挡板的中部设有第三空腔,所述挡板的顶部设有第一通孔,所述挡板的底部设有第二通孔,所述水箱的一侧设有安装孔,所述安装孔内固定设有负压风机。本实用新型中,启动负压风机,设备箱内的空气进入水箱中,空气中的碳粉在水箱底部沉淀,经过滤后的空气从负压风机的出风口排出,可对碳粉进行回收利用,且避免碳粉、粉尘等堆积在设备箱内设备上从而影响设备的使用寿命。


