授权公布号:CN218569344U
用于控制器低压接插件的固定结构
有效
申请
2022-09-29
申请公布
1970-01-01
授权
2023-03-03
预估到期
2032-09-29
| 申请号 | CN202222590324.8 |
| 申请日 | 2022-09-29 |
| 授权公布号 | CN218569344U |
| 授权公告日 | 2023-03-03 |
| 分类号 | H01R13/52;H01R13/62;H05K5/02;H05K5/03;H05K5/06 |
| 分类 | 基本电气元件; |
| 申请人名称 | 上海大郡动力控制技术有限公司 |
| 申请人地址 | 上海市闵行区新骏环路189号C105室、188号2号楼1楼 |
专利法律状态
2023-03-03
授权
状态信息
授权
摘要
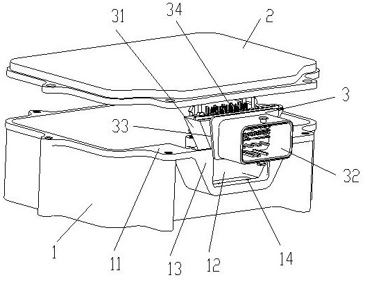
本实用新型公开了一种用于控制器低压接插件的固定结构,本结构包括箱体、盖板和低压接插件,箱体顶面为上密封面、侧面设有梯形槽,梯形槽两侧设有定位筋、底面间隔设有微型凸起,低压接插件包括衔接的梯形块和接插端部,梯形块与接插端部之间形成定位槽,低压接插件的梯形块设于箱体侧面的梯形槽内,并且定位筋插入定位槽、梯形块底面坐落于梯形槽底面的微型凸起上,梯形块的顶面设有凸筋,且凸筋的顶面高于梯形槽的顶面,盖板采用螺栓固定于箱体的上密封面,并且随着螺栓的拧紧,盖板将凸筋压下、微型凸起将梯形块顶紧,使得箱体、盖板和低压接插件形成过盈连接。本结构提高接插件与控制器箱体连接的可靠性,避免低压接插件插拔导致的密封失效。


