授权公布号:CN108814471B
平板拖把挤水清洁装置
有效
申请
2018-06-15
申请公布
2018-11-16
授权
2024-01-12
预估到期
2038-06-15
| 申请号 | CN201810622328.5 |
| 申请日 | 2018-06-15 |
| 申请公布号 | CN108814471A |
| 申请公布日 | 2018-11-16 |
| 授权公布号 | CN108814471B |
| 授权公告日 | 2024-01-12 |
| 分类号 | A47L13/254;A47L13/60 |
| 分类 | 家具;家庭用的物品或设备;咖啡磨;香料磨;一般吸尘器; |
| 申请人名称 | 浙江爱格家居用品有限公司 |
| 申请人地址 | 浙江省金华市永康市西城蓝天路35号 |
专利法律状态
2024-01-12
授权
状态信息
授权
2018-12-11
实质审查的生效
状态信息
实质审查的生效;IPC(主分类):A47L13/254;申请日:20180615
2018-11-16
公布
状态信息
公布
摘要
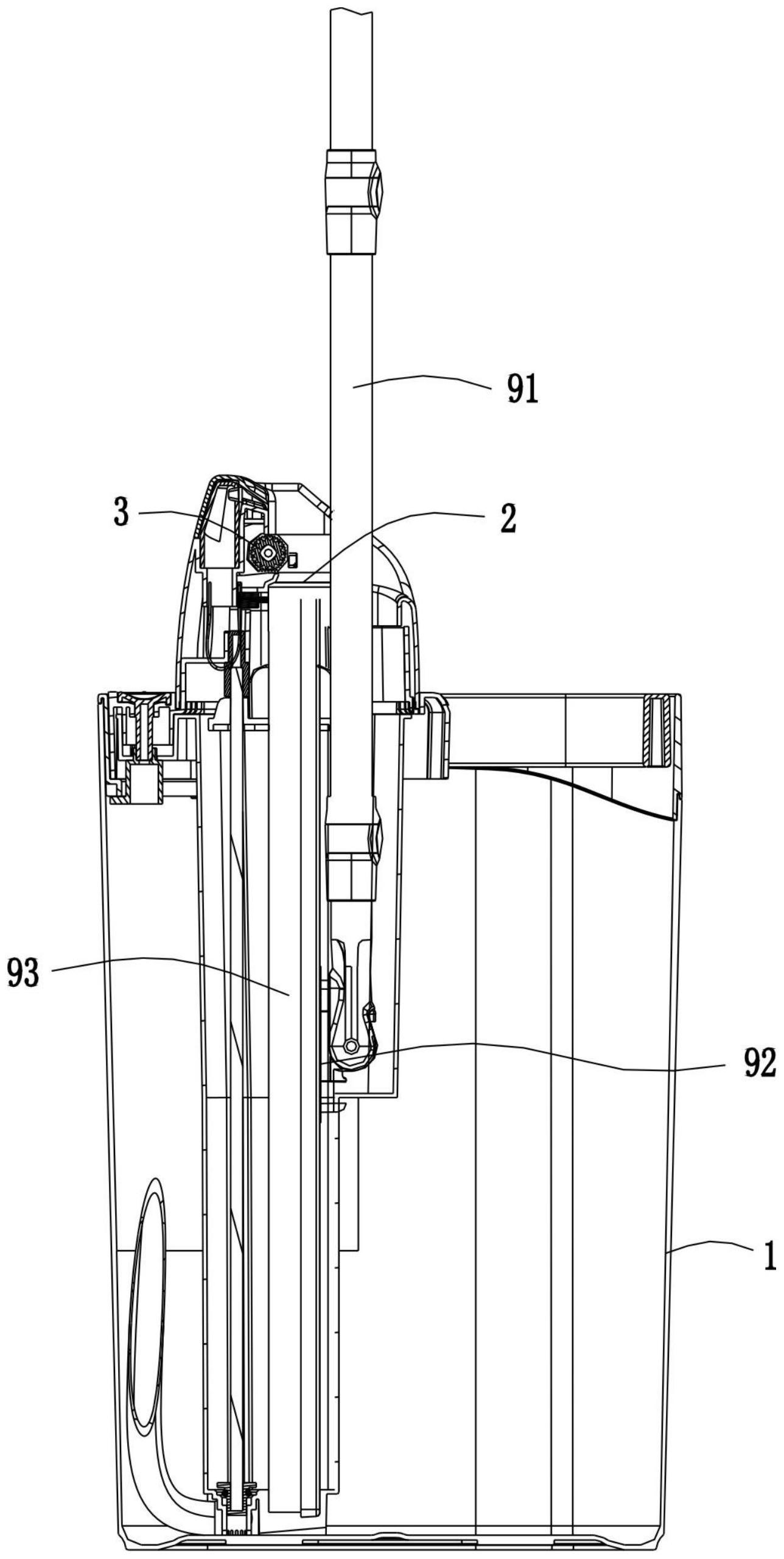
本发明公开了一种平板拖把挤水清洁装置,包括拖把和与该拖把相配合的拖把桶,所述拖把包括拖把杆;拖把头;擦拭物;所述拖把桶包括桶体;挤水口,用于供拖把头插入;挤水件,用于在拖把头插入挤水口后,对拖把头进行挤压;挤水腔,设于桶体内,拖把头可于该挤水腔内上下移动;给水装置,用于将桶体内的水输送至挤水腔内,其包括进水通道和用于开启或截止所述进水通道的启闭件。本发明通过在桶体内设置挤水腔和给水装置的设置,使得拖把在挤水腔内上下移动即可实现对拖把的清洗和挤水操作,操作简便且省时省力;其次,桶体可设置为单桶,体积小。


