授权公布号:CN108577723B
清洁装置
有效
申请
2018-05-13
申请公布
2018-09-28
授权
2021-08-27
预估到期
2038-05-13
| 申请号 | CN201810452769.5 |
| 申请日 | 2018-05-13 |
| 申请公布号 | CN108577723A |
| 申请公布日 | 2018-09-28 |
| 授权公布号 | CN108577723B |
| 授权公告日 | 2021-08-27 |
| 分类号 | A47L13/58;A47L13/20 |
| 分类 | 家具;家庭用的物品或设备;咖啡磨;香料磨;一般吸尘器; |
| 申请人名称 | 浙江爱格家居用品有限公司 |
| 申请人地址 | 浙江省金华市永康市西城蓝天路35号 |
专利法律状态
2021-08-27
授权
状态信息
授权
2018-10-26
实质审查的生效
状态信息
实质审查的生效IPC(主分类):A47L 13/58
2018-09-28
公布
状态信息
公布
摘要
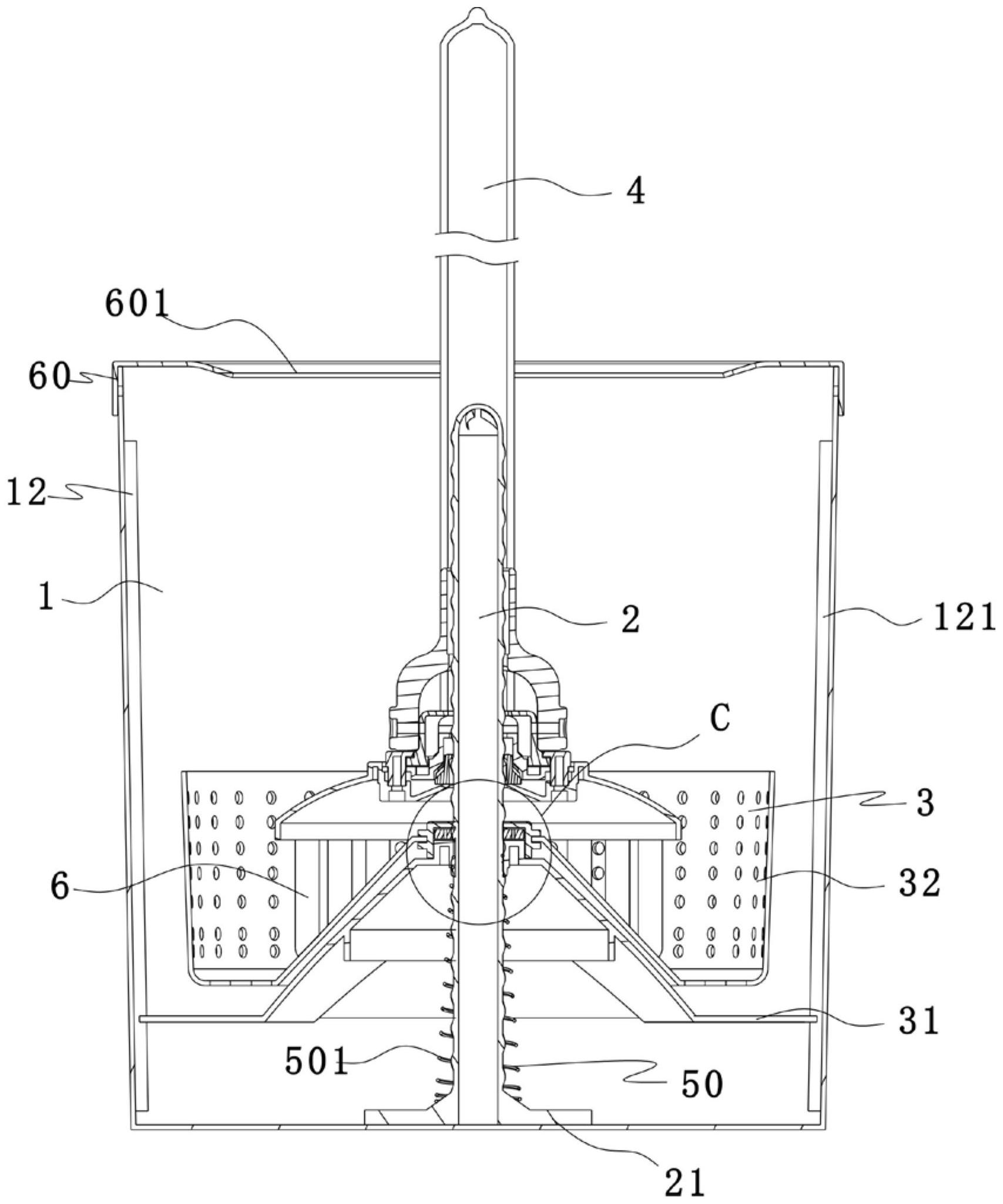
本发明公开了一种清洁装置,包括桶体;驱动杆,设于桶体内,可上下移动的清洁架;杆体;拖把盘,可相对杆体转动;驱动装置,用于在下压杆体过程中,驱动所述拖把盘发生单向转动;复位部件,用于在清洁架下移后驱动清洁架向上复位。本发明中通过在桶体内设置驱动杆,拖把进行脱水时,只需控制拖把在拖把盘离开水面的区域中上下移动即可,无需进行定位操作,操作简便,工作效率高;且无需控制拖把进行长距离的上下移动,操作省力,降低清洗和脱水的耗时,提高工作效率。


