授权公布号:CN108888209B
平板拖把清洁工具
有效
申请
2018-06-15
申请公布
2018-11-27
授权
2021-07-27
预估到期
2038-06-15
| 申请号 | CN201810621367.3 |
| 申请日 | 2018-06-15 |
| 申请公布号 | CN108888209A |
| 申请公布日 | 2018-11-27 |
| 授权公布号 | CN108888209B |
| 授权公告日 | 2021-07-27 |
| 分类号 | A47L13/254;A47L13/59 |
| 分类 | 家具;家庭用的物品或设备;咖啡磨;香料磨;一般吸尘器; |
| 申请人名称 | 浙江爱格家居用品有限公司 |
| 申请人地址 | 浙江省金华市永康市西城蓝天路35号 |
专利法律状态
2021-07-27
授权
状态信息
授权
2018-11-27
公布
状态信息
公布
摘要
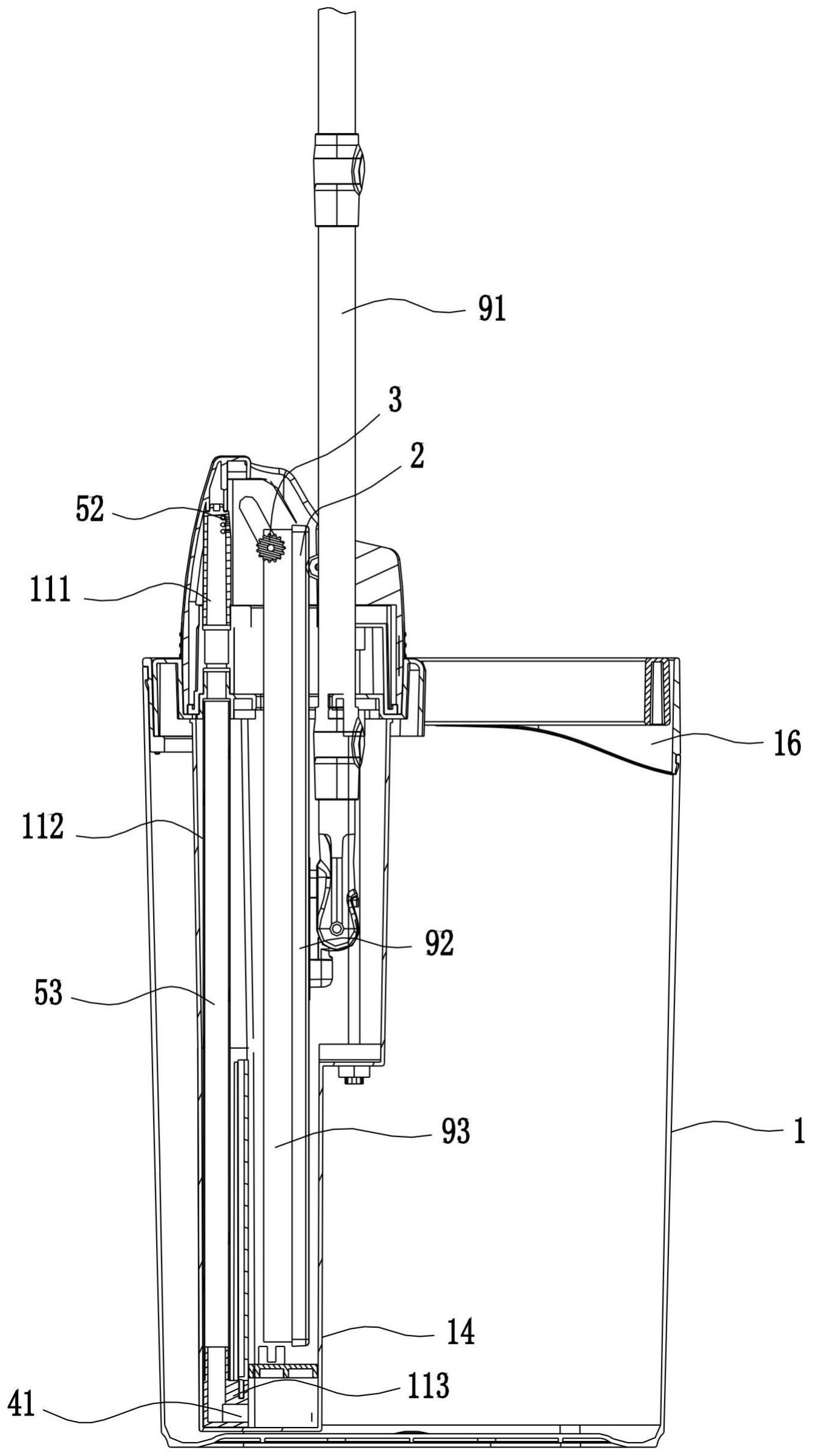
本发明公开了一种平板拖把清洁工具,包括拖把和与该拖把相配合的拖把桶,所述拖把包括拖把杆;拖把头;擦拭物;所述拖把桶包括桶体;挤水口,用于供拖把头插入;挤水件,用于在拖把头插入挤水口后,对拖把头进行挤压;挤水腔,设于桶体内,拖把头可于该挤水腔内上下移动;喷水装置,用于在拖把由高位运动至低位的过程中,驱动挤水腔内的水喷淋至擦拭物上。本发明通过喷水装置的设置,使得拖把头上部部分可直接通过喷水装置的喷淋实现给水;在适用于传统大小的平板拖把头时,桶体的高度可设置的较小;且能够同时使用传统大小和大尺寸平板拖把的清洁,适用范围广;且采用喷淋的方式,桶体内的水位可设置的较低,有效降低水资源的浪费。


