授权公布号:CN219286161U
一种便于安装的新型干式整流变压器
有效
申请
2023-03-02
申请公布
1970-01-01
授权
2023-06-30
预估到期
2033-03-02
| 申请号 | CN202320364658.5 |
| 申请日 | 2023-03-02 |
| 授权公布号 | CN219286161U |
| 授权公告日 | 2023-06-30 |
| 分类号 | H01F27/06;H01F27/02;F16F15/067 |
| 分类 | 基本电气元件; |
| 申请人名称 | 鲁特电工股份有限公司 |
| 申请人地址 | 山东省济宁市金乡县经济开发区中华路9号 |
专利法律状态
2023-06-30
授权
状态信息
授权
摘要
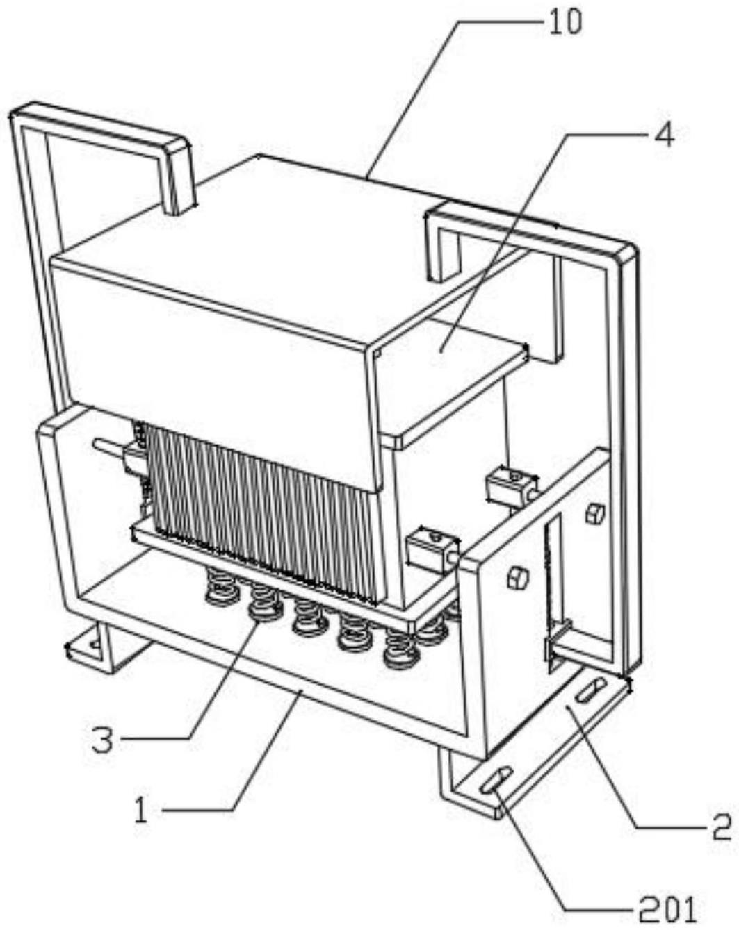
本实用新型公开了一种便于安装的新型干式整流变压器,涉及变压器技术领域,包括支撑架和干式整流变压器本体,支撑架的顶端设有对干式整流变压器本体进行缓冲的缓冲组件,干式整流变压器本体的顶部设有防护组件,干式整流变压器本体的两侧均固定设有两个定位座,两个定位座的内部均开设有定位孔,支撑架的两侧均开设有两个连接孔,四个连接孔的内部均设有与定位孔相配合的定位杆,本实用新型的有益效果是:通过设置的定位杆与定位座配合能够对干式整流变压器本体的位置进行初步定位,并且通过设置的固定螺栓与固定螺母便于对定位杆的位置进行限定,进一步对干式整流变压器本体的位置进行限定。


