授权公布号:CN215578060U
一种非晶合金干式变压器
有效
申请
2021-08-20
申请公布
1970-01-01
授权
2022-01-18
预估到期
2031-08-20
| 申请号 | CN202121965456.3 |
| 申请日 | 2021-08-20 |
| 授权公布号 | CN215578060U |
| 授权公告日 | 2022-01-18 |
| 分类号 | H01F27/06 |
| 分类 | 基本电气元件; |
| 申请人名称 | 鲁特电工股份有限公司 |
| 申请人地址 | 山东省济宁市金乡经济开发区中华路9号 |
专利法律状态
2022-01-18
授权
状态信息
授权
摘要
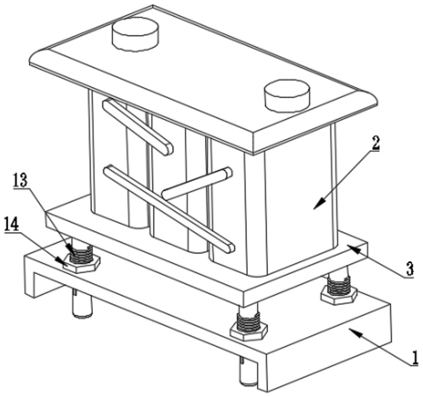
本实用新型公开了一种非晶合金干式变压器,包括底座和变压器本体,所述变压器本体的下部固定安装有垫板,所述垫板的底部固定安装有固定柱,所述固定柱的内部开设有安装孔,所述安装孔的内部固定活动安装有调节柱,所述调节柱的底部固定安装有隔板。该种非晶合金干式变压器,隔板会在安装孔内部下降,使得弹簧进行收缩,同时也会带动限制杆进入到调节区下部,当固定柱的下部以及限制杆的上部移动至底座的下部时,因没有侧面阻力对限制杆进行阻拦,且安装孔内部的弹簧可以使隔板恢复原位,隔板带动限制杆从调节区内部移出,使限制杆的顶部抵在底座的下表面,使螺母的下部和底座的上表面紧密贴合,最后达到了更为固定,便于安装的目的。


