授权公布号:CN217588621U
一种地下式电力变压器用的散热结构
有效
申请
2022-05-25
申请公布
1970-01-01
授权
2022-10-14
预估到期
2032-05-25
| 申请号 | CN202221266701.6 |
| 申请日 | 2022-05-25 |
| 授权公布号 | CN217588621U |
| 授权公告日 | 2022-10-14 |
| 分类号 | H01F27/08;H01F27/16;H01F27/02 |
| 分类 | 基本电气元件; |
| 申请人名称 | 鲁特电工股份有限公司 |
| 申请人地址 | 山东省济宁市金乡经济开发区中华路9号 |
专利法律状态
2022-10-14
授权
状态信息
授权
摘要
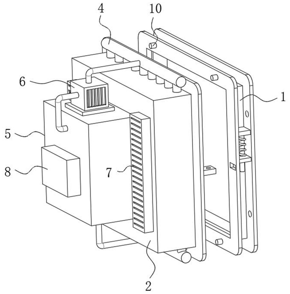
本实用新型提供一种地下式电力变压器用的散热结构,包括:通过紧固螺栓可拆卸式安装于电力变压器上的导风框;防护罩,所述防护罩可拆卸式安装于所述导风框的一侧;一排换热管,一排所述换热管分别固定于所述防护罩内壁的顶部和底部之间,且一排换热管的顶端和底端均贯穿防护罩并延伸至防护罩的顶部和底部。本实用新型提供的地下式电力变压器用的散热结构,通过两个风扇的设置,可以向防护罩的内部施加气体,从而便于变压器的散热工作,而且通过水泵的设置,可以将蓄水箱内部的冷水通过汇集管排至到一排换热管的内部,用于气体的换热,便于变压器的快速的散热,有效的避免室外环境温度过高,影响变压器的降温效率。


