授权公布号:CN215527422U
一种立体卷铁芯配电变压器线圈装置
有效
申请
2021-08-31
申请公布
1970-01-01
授权
2022-01-14
预估到期
2031-08-31
| 申请号 | CN202122069163.3 |
| 申请日 | 2021-08-31 |
| 授权公布号 | CN215527422U |
| 授权公告日 | 2022-01-14 |
| 分类号 | H01F27/26;H01F27/30;F16F15/073;F16F15/04 |
| 分类 | 基本电气元件; |
| 申请人名称 | 鲁特电工股份有限公司 |
| 申请人地址 | 山东省济宁市金乡经济开发区中华路9号 |
专利法律状态
2022-01-14
授权
状态信息
授权
摘要
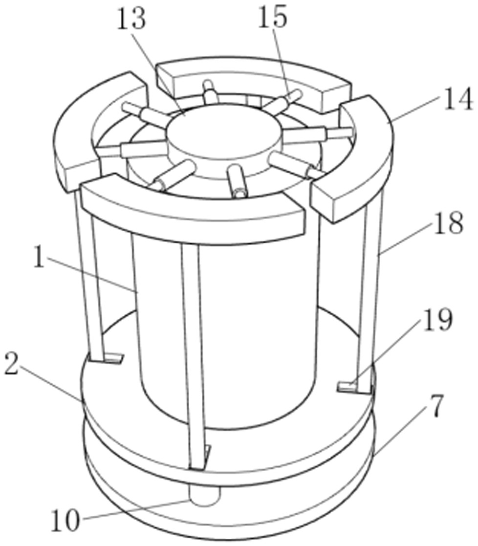
本实用新型公开了一种立体卷铁芯配电变压器线圈装置,包括铁芯线圈;铁芯线圈下方固定连接有底板,底板下方设有钢板弹簧,钢板弹簧上方固定连接有抵接块,钢板弹簧通过抵接块与底板固定连接,钢板弹簧下方固定连接有对称设置的铰接座,铰接座铰接有滑动块,钢板弹簧下方设有底座,底座开设有供滑动块滑动连接的底座滑槽,底座滑槽内设有第一压缩弹簧,第一压缩弹簧左侧与滑动块抵接,第一压缩弹簧右侧与底座滑槽内壁抵接。本实用新型通过底板、钢板弹簧、抵接块、铰接座、滑动块、底座、底座滑槽、第一压缩弹簧、套筒、套杆和第二压缩弹簧对铁芯线圈进行减震,降低铁芯产生的噪音。


