授权公布号:CN219291051U
一种甲醛清除剂专用缓释器
有效
申请
2022-12-28
申请公布
1970-01-01
授权
2023-07-04
预估到期
2032-12-28
| 申请号 | CN202223518217.0 |
| 申请日 | 2022-12-28 |
| 授权公布号 | CN219291051U |
| 授权公告日 | 2023-07-04 |
| 分类号 | B01D53/79;B01D53/72;B01D53/04N |
| 分类 | 一般的物理或化学的方法或装置; |
| 申请人名称 | 康瑞达(福州)环保科技有限公司 |
| 申请人地址 | 福建省福州市闽清县金沙镇沃头村176号 |
专利法律状态
2023-07-04
授权
状态信息
授权
摘要
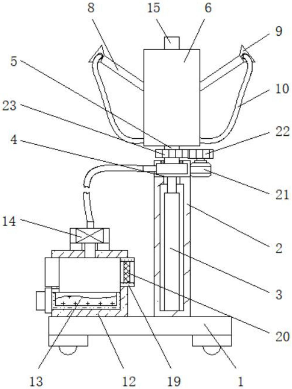
本实用新型公开了一种甲醛清除剂专用缓释器,包括支撑板,所述支撑板顶部的右侧固定连接有支柱,所述支柱内腔的底部固定连接有电动推杆,所述电动推杆的输出端贯穿支柱并固定连接有固定盒,所述固定盒的顶部连通有支撑管,所述支撑管表面的顶部固定连接有调节箱。本实用新型通过支撑板、支柱、电动推杆、固定盒、支撑管、调节箱、传动杆、调节杆、喷头、输风管、第一齿轮、过滤箱、甲醛清除挥发剂、风机、第一电机、螺纹杆、螺纹管、齿板、进风管和活性炭过滤网的配合使用,实现了自动控制挥发量的功能,解决了现有的缓释器采用被动挥发的方式对室内释放甲醛清除剂,释放效率较低,无法满足较大空间环境使用的问题。


