授权公布号:CN218221818U
空气净化凝胶的辅助释放安装盒
有效
申请
2022-09-21
申请公布
1970-01-01
授权
2023-01-06
预估到期
2032-09-21
| 申请号 | CN202222509991.9 |
| 申请日 | 2022-09-21 |
| 授权公布号 | CN218221818U |
| 授权公告日 | 2023-01-06 |
| 分类号 | B01D53/76;B01D53/34 |
| 分类 | 一般的物理或化学的方法或装置; |
| 申请人名称 | 康瑞达(福州)环保科技有限公司 |
| 申请人地址 | 福建省福州市闽清县金沙镇沃头村176号 |
专利法律状态
2023-01-06
授权
状态信息
授权
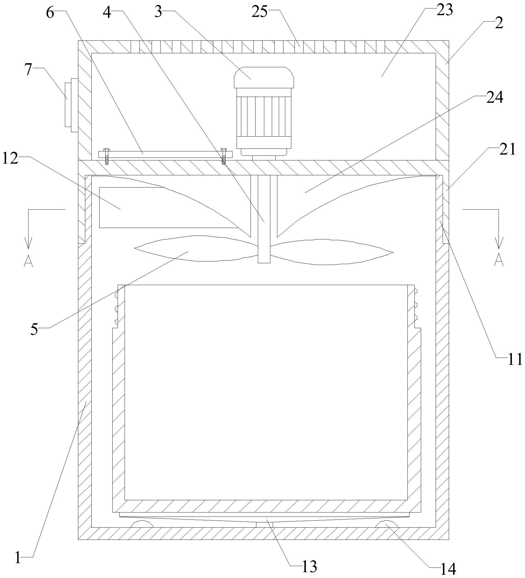
摘要
本实用新型涉及空气净化装置技术领域,特别涉及一种空气净化凝胶的辅助释放安装盒,通过设计盖体和盒体通过第一限位部和第二限位部的可转动连接结构,通过转动盖体,可调节第一通孔和第二通孔的重叠区域面积,当第一通孔与第二通孔的区域重叠时,使盒体内外连通,通过控制风扇转动,加速气流流动,加速空气净化凝胶的挥发,以加速释放到周围的空气中,满足特定场景下快速净化空气的需求。


