授权公布号:CN212883082U
一种除醛仪防漏液喷头
有效
申请
2020-06-23
申请公布
1970-01-01
授权
2021-04-06
预估到期
2030-06-23
| 申请号 | CN202021182846.9 |
| 申请日 | 2020-06-23 |
| 授权公布号 | CN212883082U |
| 授权公告日 | 2021-04-06 |
| 分类号 | B05B12/08;B05B15/00 |
| 分类 | 一般喷射或雾化;对表面涂覆液体或其他流体的一般方法〔2〕; |
| 申请人名称 | 康瑞达(福州)环保科技有限公司 |
| 申请人地址 | 福建省福州市闽清县金沙镇沃头村176号 |
专利法律状态
2021-04-06
授权
状态信息
授权
摘要
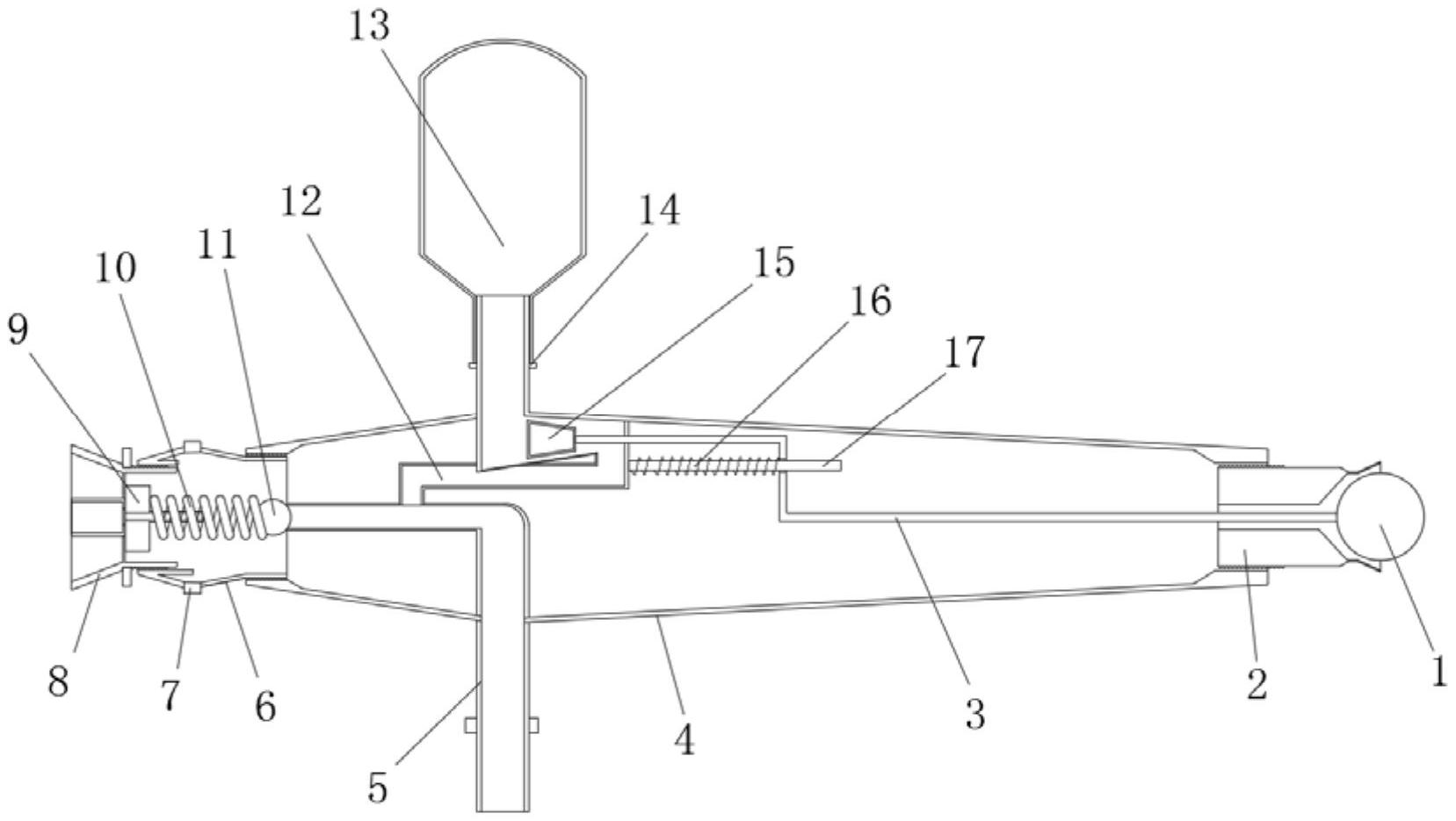
本实用新型公开了一种除醛仪防漏液喷头,包括壳体,所述壳体的一侧转动连接有端盖,端盖的一侧转动连接有按压球,按压球的一侧通过螺栓固定有推杆,所述壳体的一侧设有进料管,进料管的一端套接有存料仓,所述进料管的两侧焊接有垫片,垫片与存料仓相接触,且进料管的一侧插接有堵头,堵头与推杆固定连接,所述推杆的一侧焊接有导向杆,导向杆的一侧套接有第二弹簧,第二弹簧的一端与推杆固定连接,第二弹簧的另一端与进料管固定连接。本实用新型的优点是能够解决人们忘记关闭或没关紧喷头时就会出现漏液的问题,节约资源,其次可以对喷头的出水速度以及喷洒面积进行调节,灵活性好,提高了装置的灵活性。


