授权公布号:CN213348352U
便携式自动加氧除醛仪
有效
申请
2020-06-12
申请公布
1970-01-01
授权
2021-06-04
预估到期
2030-06-12
| 申请号 | CN202021083569.6 |
| 申请日 | 2020-06-12 |
| 授权公布号 | CN213348352U |
| 授权公告日 | 2021-06-04 |
| 分类号 | B01D53/72;B01D53/78 |
| 分类 | 一般的物理或化学的方法或装置; |
| 申请人名称 | 康瑞达(福州)环保科技有限公司 |
| 申请人地址 | 福建省福州市闽清县金沙镇沃头村176号 |
专利法律状态
2021-06-04
授权
状态信息
授权
摘要
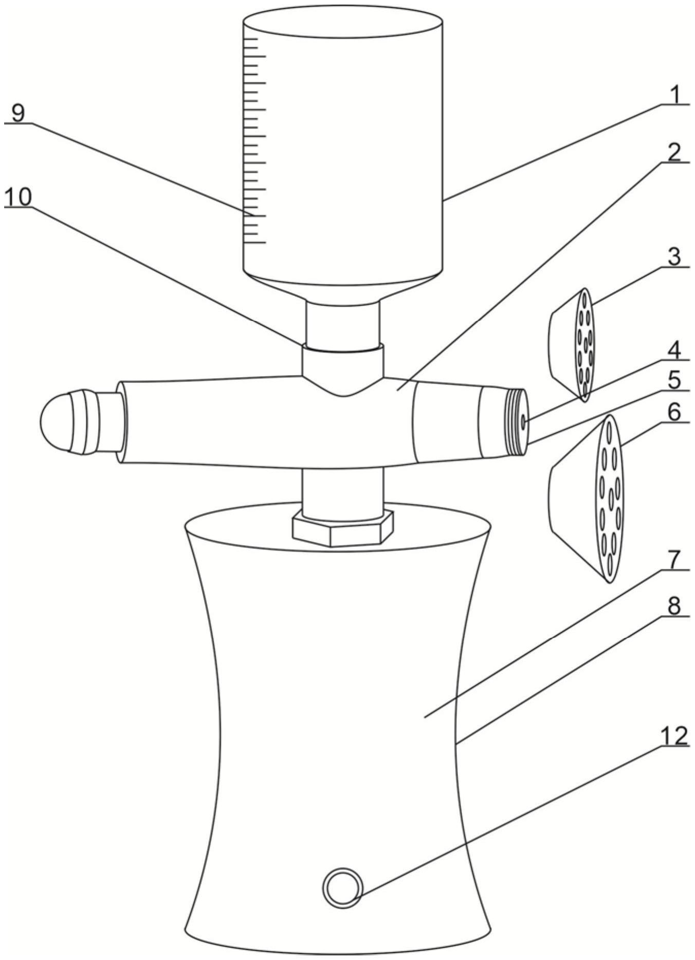
本实用新型涉及便携式自动加氧除醛仪,包括操作柄、设置在操作柄上部的连接杆、与连接杆呈垂直结构连接的连接管、活动设置在连接管顶部的储液瓶、固定设置在连接杆端头的喷头、与喷头配合使用的第一扩散头和第二扩散头;所述储液瓶的下部设有折叠部,储液瓶的顶部设有瓶盖;本实用新型实用性强,操作起来非常简单,有效解决针对局部区域进行去除甲醛的问题。


