授权公布号:CN212708203U
一种生产聚丙烯酰胺用挤压切割设备
有效
申请
2020-06-12
申请公布
1970-01-01
授权
2021-03-16
预估到期
2030-06-12
| 申请号 | CN202021084503.9 |
| 申请日 | 2020-06-12 |
| 授权公布号 | CN212708203U |
| 授权公告日 | 2021-03-16 |
| 分类号 | B30B11/22;B30B15/00;B26D7/26;B26D5/10;B26D1/06 |
| 分类 | 压力机; |
| 申请人名称 | 湖南凯涛环保科技有限公司 |
| 申请人地址 | 湖南省长沙市芙蓉区(县)湘湖街道车站北路70号万象新天公寓5号栋1704室 |
专利法律状态
2021-03-16
授权
状态信息
授权
摘要
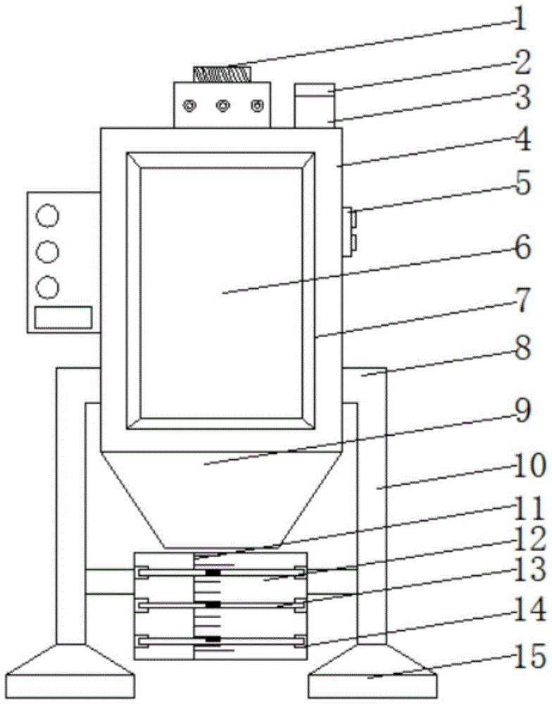
本实用新型公开了一种生产聚丙烯酰胺用挤压切割设备,包括挤压箱,所述挤压箱的一侧表面设置有导出清理组件,所述挤压箱的顶部固定安装有气缸,所述气缸的输出端贯穿挤压箱顶部固定安装有伸缩杆,所述伸缩杆的底端固定安装有挤压板。该一种生产聚丙烯酰胺用挤压切割设备,可根据实际切割加工的聚丙烯酰胺长度和大小不同的需要,通过挡板上的刻度对挤压出锥形出料口的聚丙烯酰胺原料进行实时测量,当达到指定的长度和大小时,可通过人工手持拉环推动抽拉板带动切刀对挡板上的聚丙烯酰胺进行切断,从而判断切割距离,尽可能的保证切割出的胶段长度相同,使聚丙烯酰胺切割的精确性更好,操作更加方便简单生产的质量更高。


