授权公布号:CN212700575U
一种聚合氯化铝用干燥装置
有效
申请
2020-06-12
申请公布
1970-01-01
授权
2021-03-16
预估到期
2030-06-12
| 申请号 | CN202021082894.0 |
| 申请日 | 2020-06-12 |
| 授权公布号 | CN212700575U |
| 授权公告日 | 2021-03-16 |
| 分类号 | B01D1/18;B01D1/20;C01F7/56;B01D1/30;C02F1/52 |
| 分类 | 一般的物理或化学的方法或装置; |
| 申请人名称 | 湖南凯涛环保科技有限公司 |
| 申请人地址 | 湖南省长沙市芙蓉区(县)湘湖街道车站北路70号万象新天公寓5号栋1704室 |
专利法律状态
2021-03-16
授权
状态信息
授权
摘要
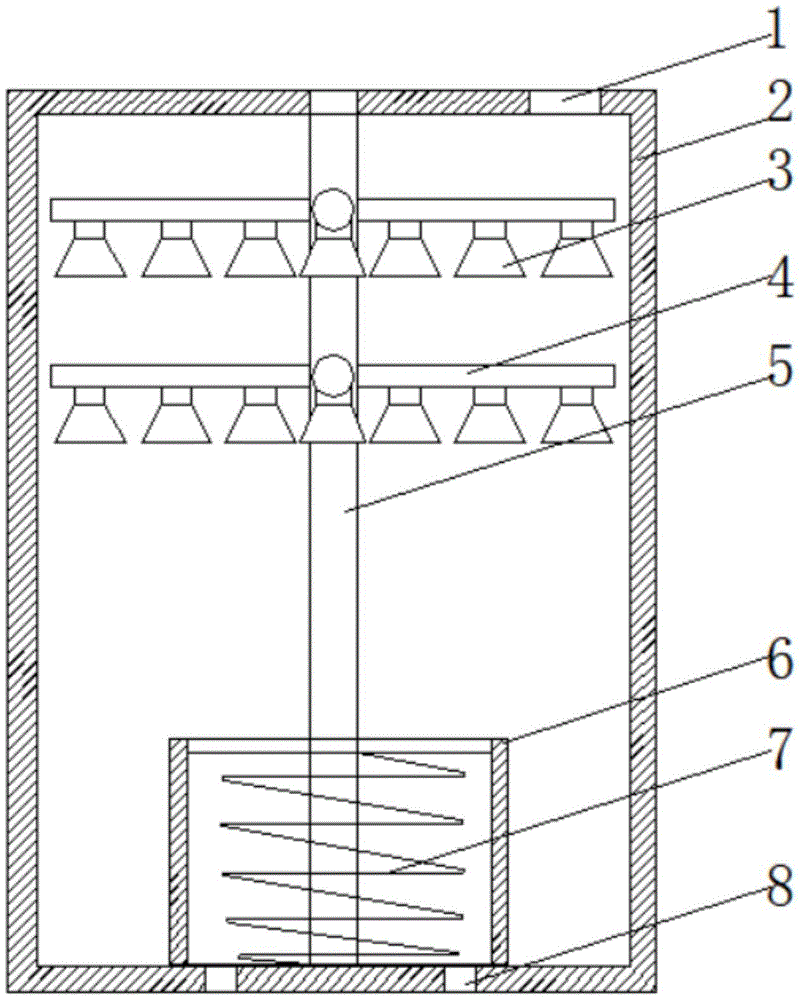
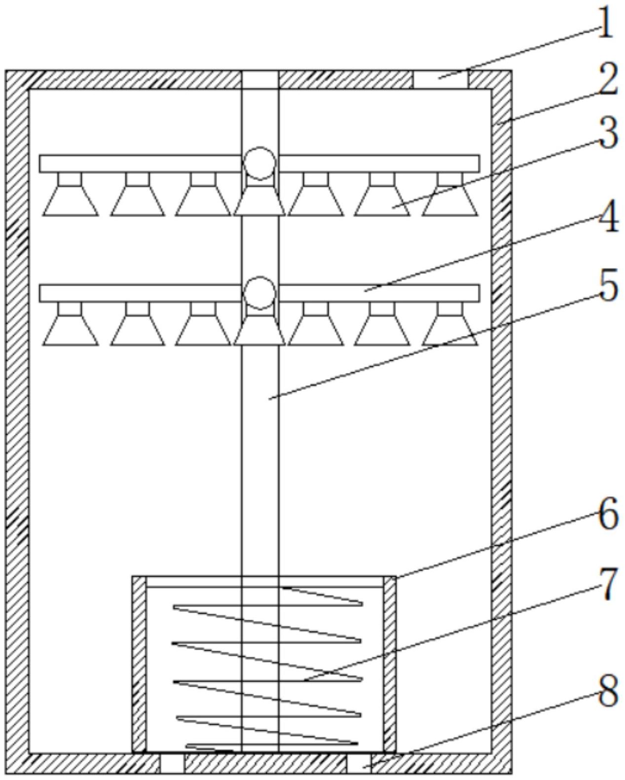
本实用新型公开了一种聚合氯化铝用干燥装置,包括干燥箱,所述干燥箱的一侧表面设置有密封锁紧机构,所述干燥箱内部的顶端固定安装有防护壳,所述防护壳的内部通过轴承转动安装有转动杆,所述转动杆靠近底部的防护壳内侧固定安装有导流桨叶,所述转动杆的上半段为中空结构。该一种聚合氯化铝用干燥装置,在进行聚合氯化铝干燥使用的过程中,可通过电机带动转动杆进行实时转动,通过导流桨叶将注入的高温气流快速输送到干燥箱上方,然后通过进液管连接外部液体输送源,通过分流管将导入到转动杆上半段的液体进行分流,并通过雾化喷头将液体分散导出与高温气流进行实时接触,使接触的整体面积更大更加充分,使干燥的效率更高效果更好。


