授权公布号:CN214164177U
一种口罩罩体成型装置
有效
申请
2020-12-08
申请公布
1970-01-01
授权
2021-09-10
预估到期
2030-12-08
| 申请号 | CN202022977509.5 |
| 申请日 | 2020-12-08 |
| 授权公布号 | CN214164177U |
| 授权公告日 | 2021-09-10 |
| 分类号 | B30B15/32;A41H43/02;A41D13/11 |
| 分类 | 压力机; |
| 申请人名称 | 长沙文象环保科技有限公司 |
| 申请人地址 | 湖南省长沙市浏阳市永安镇永安村永安组 |
专利法律状态
2021-09-10
授权
状态信息
授权
摘要
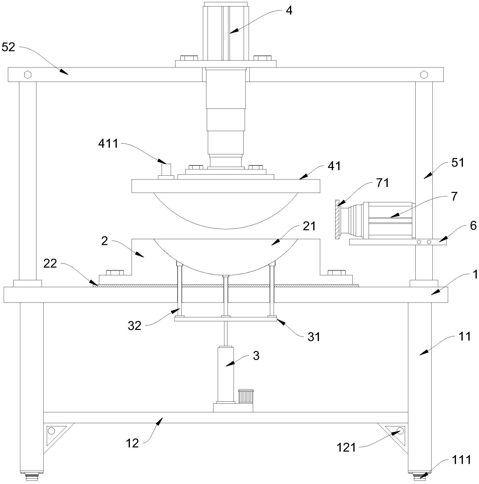
本实用新型公开了一种口罩罩体成型装置,包括工作台,工作台的顶部设置有模具,模具上表面中部设置有模槽,模槽底面设置有通孔,模具通过螺栓连接于工作台,工作台底面固定连接有支撑脚,支撑脚固定连接有第一安装架,模具下方的第一安装架上设置有电缸,电缸的伸缩杆一端固定连接有第二安装架,第二安装架顶部设置有顶杆,顶杆贯穿工作台和模具,顶杆远离第二安装架的一端固定连接有顶块,顶块形状与通孔适配,模具上方设置有压块,压块顶部固定连接于第一气缸的伸缩杆一端。完成压模成型后,通过第一气缸拉动压块上升,然后通过电缸推动第二安装架上的顶杆上升,使得顶块将罩体顶出模槽,通过此方案代替了人工将口罩从模槽中取出。


