授权公布号:CN112537718B
一种电池包模组吊装装置及方法
有效
申请
2019-09-23
申请公布
2021-03-23
授权
2023-08-22
预估到期
2039-09-23
| 申请号 | CN201910900470.6 |
| 申请日 | 2019-09-23 |
| 申请公布号 | CN112537718A |
| 申请公布日 | 2021-03-23 |
| 授权公布号 | CN112537718B |
| 授权公告日 | 2023-08-22 |
| 分类号 | B66C1/42 |
| 分类 | 卷扬;提升;牵引; |
| 申请人名称 | 中车时代电动汽车股份有限公司 |
| 申请人地址 | 湖南省株洲市国家高新技术开发区栗雨工业园 |
专利法律状态
2023-08-22
授权
状态信息
授权
2021-04-09
实质审查的生效
状态信息
实质审查的生效;IPC(主分类):B66C1/42;申请日:20190923
2021-03-23
公布
状态信息
公布
摘要
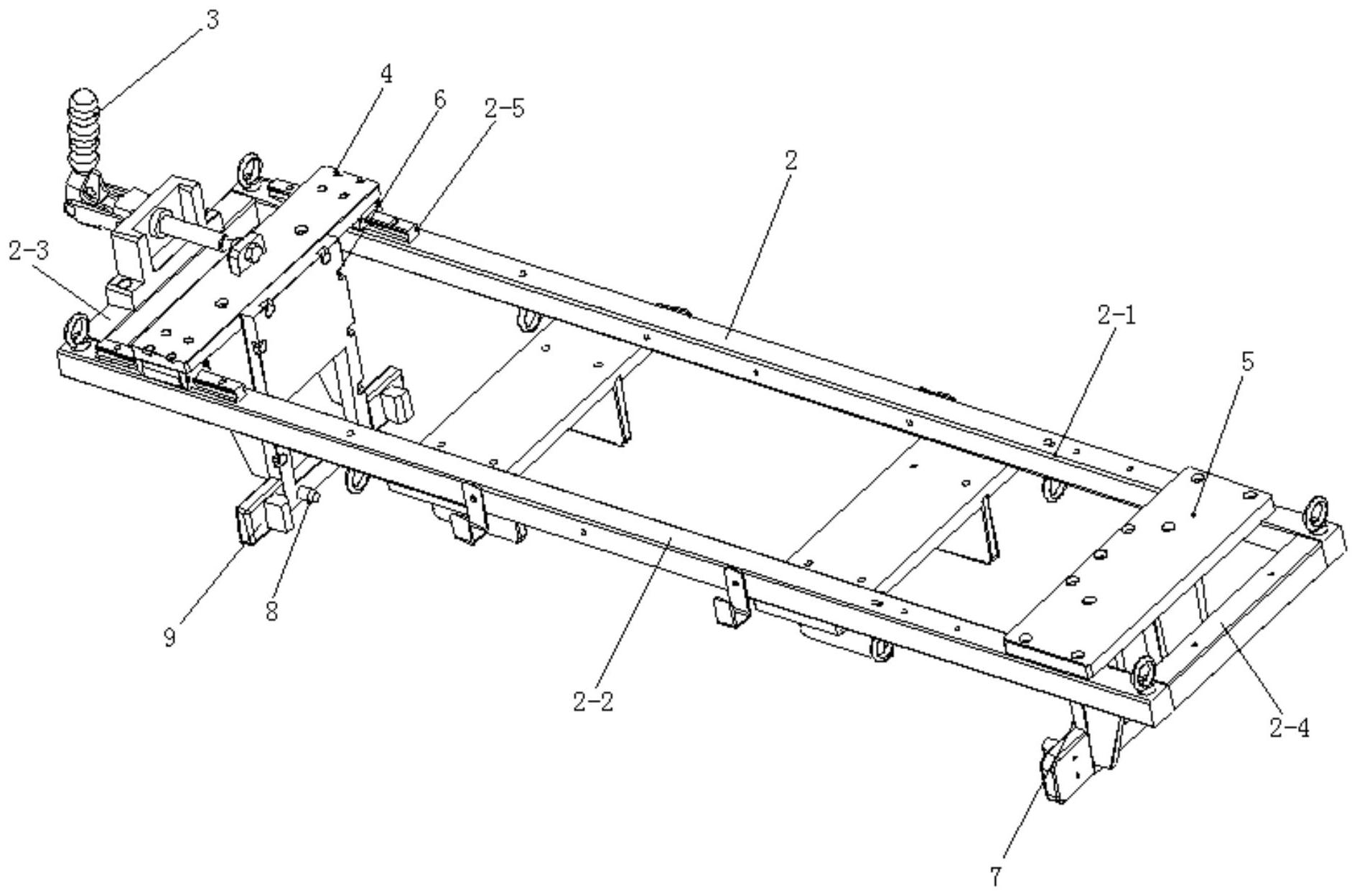
本发明公开了一种电池包模组吊装装置及方法,应用于电池包模组,模组设置有吊装孔,装置包括:主体框架;主体框架第一边及第二边上有导轨及第三边上有肘夹组件,导轨上架接有靠近第三边的第一支撑板,第一边及第二边上固定连接第二支撑板,在第一支撑板及第二支撑板上均设置勾板,并在勾板一端设置销钉,通过销钉插入吊装孔吊起模组,同时在勾板的一端向第一边及第二边方向延伸设置有导向组件,引导模组的安装。通过应用本申请的技术方案,在手动线上能够快速夹紧和松开;在吊装过程中能够使电池包不发生相对移动;可以兼容不同长度规格以及不同电芯高度的模组;该装置在装配中能够快速的定位端板与安装孔的位置,提高了装配的效率。


