授权公布号:CN219106367U
一种带有吸能盒的电池仓活装防撞梁结构
有效
申请
2022-11-28
申请公布
1970-01-01
授权
2023-05-30
预估到期
2032-11-28
| 申请号 | CN202223163570.1 |
| 申请日 | 2022-11-28 |
| 授权公布号 | CN219106367U |
| 授权公告日 | 2023-05-30 |
| 分类号 | H01M50/242;H01M50/249;B60K1/04;B60L50/64 |
| 分类 | 基本电气元件; |
| 申请人名称 | 中车时代电动汽车股份有限公司 |
| 申请人地址 | 湖南省株洲市国家高新技术开发区栗雨工业园五十七区 |
专利法律状态
2023-05-30
授权
状态信息
授权
摘要
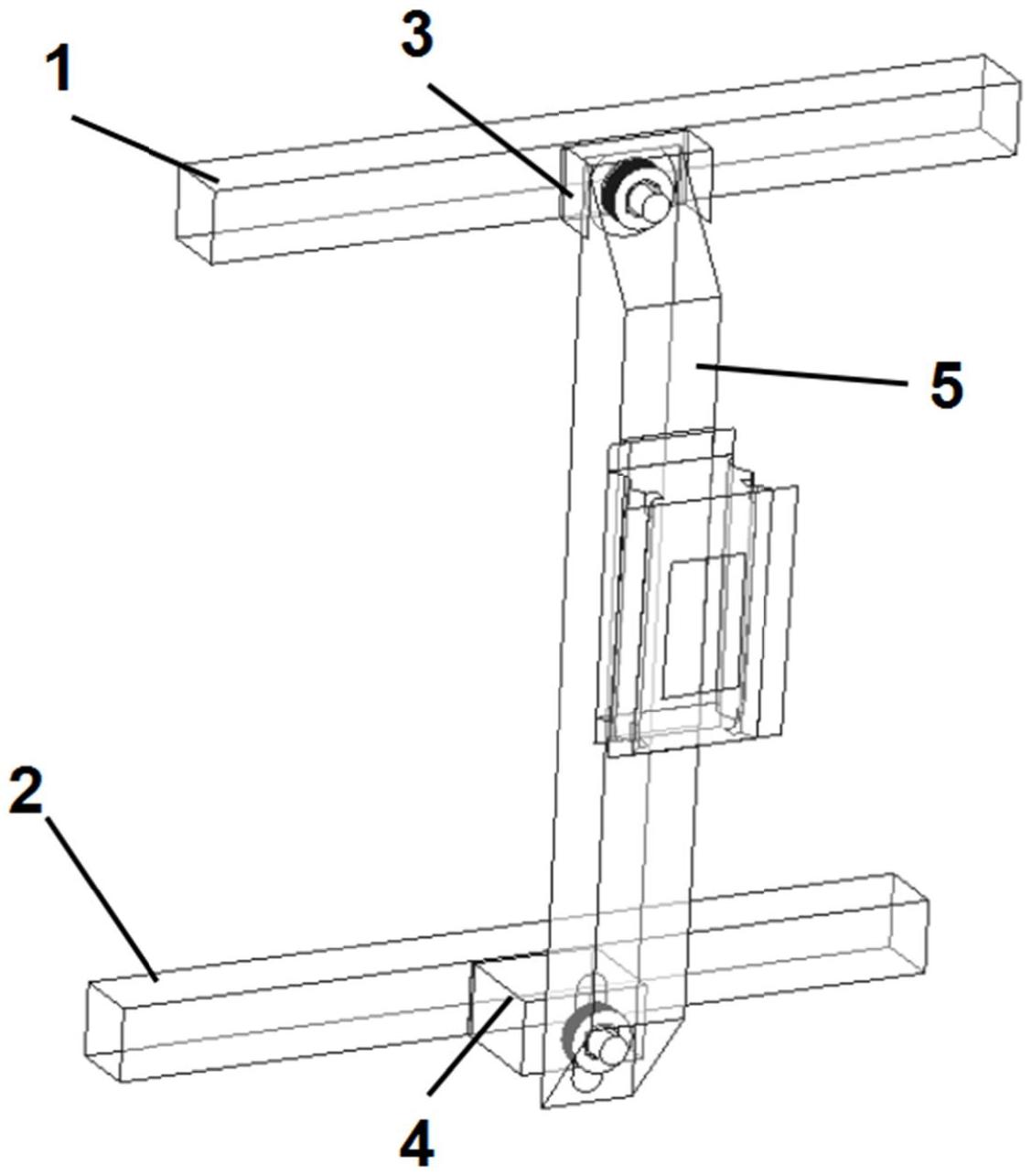
本实用新型公开了一种带有吸能盒的电池仓活装防撞梁结构,包括防撞立柱和吸能盒,所述防撞立柱的上端靠内一侧安装有上层地板骨架边纵梁,所述防撞立柱的下端靠内一侧安装有下层电池托架边纵梁;所述吸能盒安装于防撞立柱的中部靠外位置处。本实用新型具有结构简单紧凑、安装方便、能够提高碰撞防护性能等优点。


