授权公布号:CN218286911U
纸箱成型装置
有效
申请
2022-10-25
申请公布
1970-01-01
授权
2023-01-13
预估到期
2032-10-25
| 申请号 | CN202222811966.6 |
| 申请日 | 2022-10-25 |
| 授权公布号 | CN218286911U |
| 授权公告日 | 2023-01-13 |
| 分类号 | B31B50/36;B31B50/59;B31B50/00 |
| 分类 | 纸品制作;纸的加工; |
| 申请人名称 | 农夫山泉股份有限公司 |
| 申请人地址 | 浙江省杭州市西湖区转塘街道葛衙庄181号1号楼3楼 |
专利法律状态
2023-10-13
专利申请权、专利权的转移
状态信息
专利权的转移;IPC(主分类):B31B 50/36;专利号:ZL2022228119666;登记生效日:20230921;变更事项:专利权人;变更前权利人:农夫山泉股份有限公司;变更后权利人:农夫山泉(浙江)饮料研究发展有限公司;变更事项:地址;变更前权利人:310024 浙江省杭州市西湖区葛衙庄181号;变更后权利人:310024 浙江省杭州市西湖区转塘街道葛衙庄181号1号楼3楼;变更事项:专利权人;变更前权利人:;变更后权利人:农夫山泉股份有限公司
2023-01-13
授权
状态信息
授权
摘要
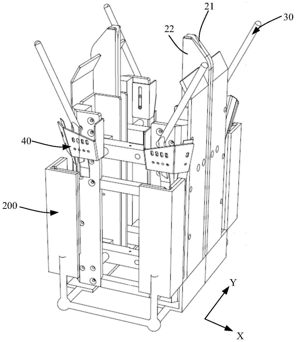
本实用新型公开一种纸箱成型装置。纸箱成型装置包括内板成型组件和外板成型组件,内板成型组件包括内隔板夹持件和设置在内隔板夹持件两侧的成型件,内隔板夹持件包括在第一方向上延伸的夹持缝,夹持缝被配置为使内隔板插入,成型件包括沿第二方向延伸的第一成型段、相对于第一成型段倾斜设置的第二成型段以及沿第一方向延伸的第三成型段,成型件被配置为使侧板沿第一成型段、第二成型段以及第三成型段的形状成型。外板成型组件设置在内板成型组件的外侧以对外板进行成型。外板成型组件包括方形架和分别设置在方形架的四个角处的四个成型夹具,成型夹具包括相互垂直的第一夹体和第二夹体。本实用新型的纸箱成型装置制造出抗压能力更强的纸箱。


