授权公布号:CN220240593U
一种新能源变速箱电机系统油板、导电环自动压装机构
有效
申请
2023-08-24
申请公布
1970-01-01
授权
2023-12-26
预估到期
2033-08-24
| 申请号 | CN202322295202.0 |
| 申请日 | 2023-08-24 |
| 授权公布号 | CN220240593U |
| 授权公告日 | 2023-12-26 |
| 分类号 | B23P19/02 |
| 分类 | 机床;不包含在其他类目中的金属加工; |
| 申请人名称 | 安徽巨一科技股份有限公司 |
| 申请人地址 | 安徽省合肥市包河区繁华大道5821号 |
专利法律状态
2023-12-26
授权
状态信息
授权
摘要
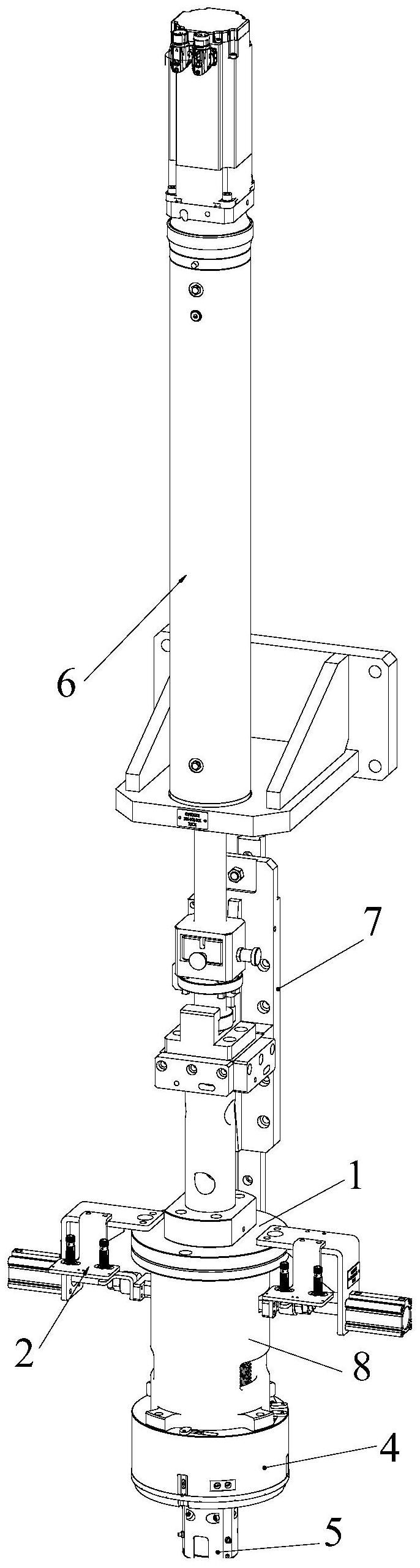
本实用新型公开了一种新能源变速箱电机系统油板、导电环自动压装机构,包括压装组件、竖直滑动组件、安装块、环形筒、限位组件、直线导向机构、油板压头和导电环压头;安装块与竖直滑动组件的滑块连接并通过压装组件驱动;环形筒上端与安装块固定连接,而油板压头与环形筒的底部固定连接,导电环压头通过直线导向机构与安装块活动连接,使导电环压头相对于油板压头位置浮动,实现油板的自动定位与压装;导电环压头再通过限位组件进行轴向限位,实现导电环的自动压装。该机构无需设置额外的压头变位机构即可完成自动压装,大大降低了设备的成本,提升了经济性,并且取消了压头变位动作所占用的时间,缩短了压装节拍,提高了生产效率。


