授权公布号:CN206650022U
双合闸位弹簧操作机构
有效
申请
2017-04-20
申请公布
1970-01-01
授权
2017-11-17
预估到期
2027-04-20
| 申请号 | CN201720417365.3 |
| 申请日 | 2017-04-20 |
| 授权公布号 | CN206650022U |
| 授权公告日 | 2017-11-17 |
| 分类号 | H01H33/666 |
| 分类 | 基本电气元件; |
| 申请人名称 | 日升集团有限公司 |
| 申请人地址 | 浙江省宁波市象山县工业园区丹霞路89号 |
专利法律状态
2017-11-17
授权
状态信息
授权
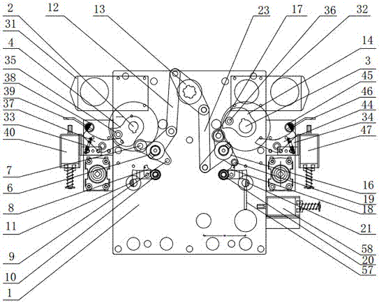
摘要
本实用新型涉及真空断路器技术领域,尤其涉及一种真空断路器的双合闸位弹簧操作机构,它主要包括设置在左右凸轮上的左右滚子、用于挡住左右滚子的左右合闸挚子,通过左右电机先给储能弹簧机构进行储能,然后通过左右合闸挚子来挡住左右合闸输入轴,使得弹簧的能力不会马上释放,然后通过控制两个动力机构来带动挡板进而带动左右合闸半轴转动,使得左右合闸挚子转动不再挡住左右滚子,进而使得左右合闸输入轴能在原先储存好的弹簧力作用下直接转动,达到两边切换状态的效果,这样操作动力机构之后就可以直接进行切换,省去了中间给储能弹簧进行储能的这段时间,大大减少了两路之间切换的时间。


