授权公布号:CN104078870B
开关柜
有效
申请
2014-07-10
申请公布
2014-10-01
授权
2016-05-18
预估到期
2034-07-10
| 申请号 | CN201410327562.7 |
| 申请日 | 2014-07-10 |
| 申请公布号 | CN104078870A |
| 申请公布日 | 2014-10-01 |
| 授权公布号 | CN104078870B |
| 授权公告日 | 2016-05-18 |
| 分类号 | H02B11/12;H02B1/04 |
| 分类 | 发电、变电或配电; |
| 申请人名称 | 日升集团有限公司 |
| 申请人地址 | 浙江省宁波市象山县经济开发区丹霞路89号 |
专利法律状态
2019-12-13
专利权质押合同登记的生效、变更及注销
状态信息
专利权质押合同登记的生效IPC(主分类):H02B 11/12登记号:Y2019330000205登记生效日:20191120出质人:日升集团有限公司质权人:中国农业银行股份有限公司象山县支行发明名称:开关柜授权公告日:20160518
2016-05-18
授权
状态信息
授权
2014-10-29
实质审查的生效
状态信息
实质审查的生效IPC(主分类):H02B 11/12申请日:20140710
2014-10-01
公布
状态信息
公布
摘要
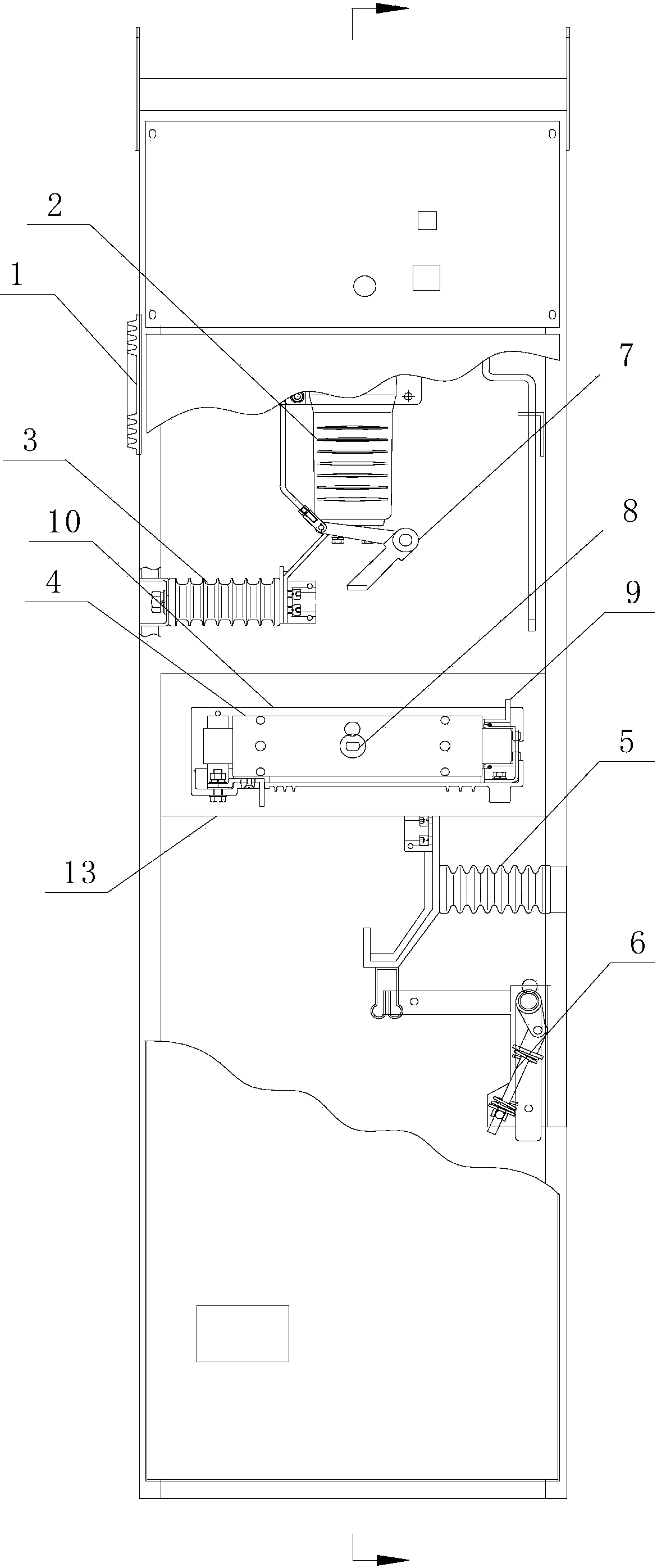
本发明公开了一种开关柜,包括柜体(1)以及自上而下设置在柜体(1)内的一真空负荷开关(2)、一上触座组件(3)、一隔离开关、三个熔断器(4)、一下触座组件(5)以及一接地开关(6);所述的真空负荷开关(2)与上触座组件(3)连接,所述隔离开关的一端可与上触座组件(3)连接;所述的下触座组件(5)与接地开关(6)连接;所述的真空负荷开关(2)还与隔离开关通过一分闸装置(7)连接;所述的接地开关(6)转动连接在柜体(1)上;所述的隔离开关三个熔断器(4)为一体。上述开关柜的安全性能好且体积小。


