授权公布号:CN211858511U
具有新型操动机构的小型化10KV高压真空断路器
有效
申请
2020-04-08
申请公布
1970-01-01
授权
2020-11-03
预估到期
2030-04-08
| 申请号 | CN202020494279.4 |
| 申请日 | 2020-04-08 |
| 授权公布号 | CN211858511U |
| 授权公告日 | 2020-11-03 |
| 分类号 | H01H33/666 |
| 分类 | 基本电气元件; |
| 申请人名称 | 陕西华电电气有限公司 |
| 申请人地址 | 陕西省宝鸡市高新开发区姬家殿工业园1号(北起高铁道) |
专利法律状态
2020-11-03
授权
状态信息
授权
摘要
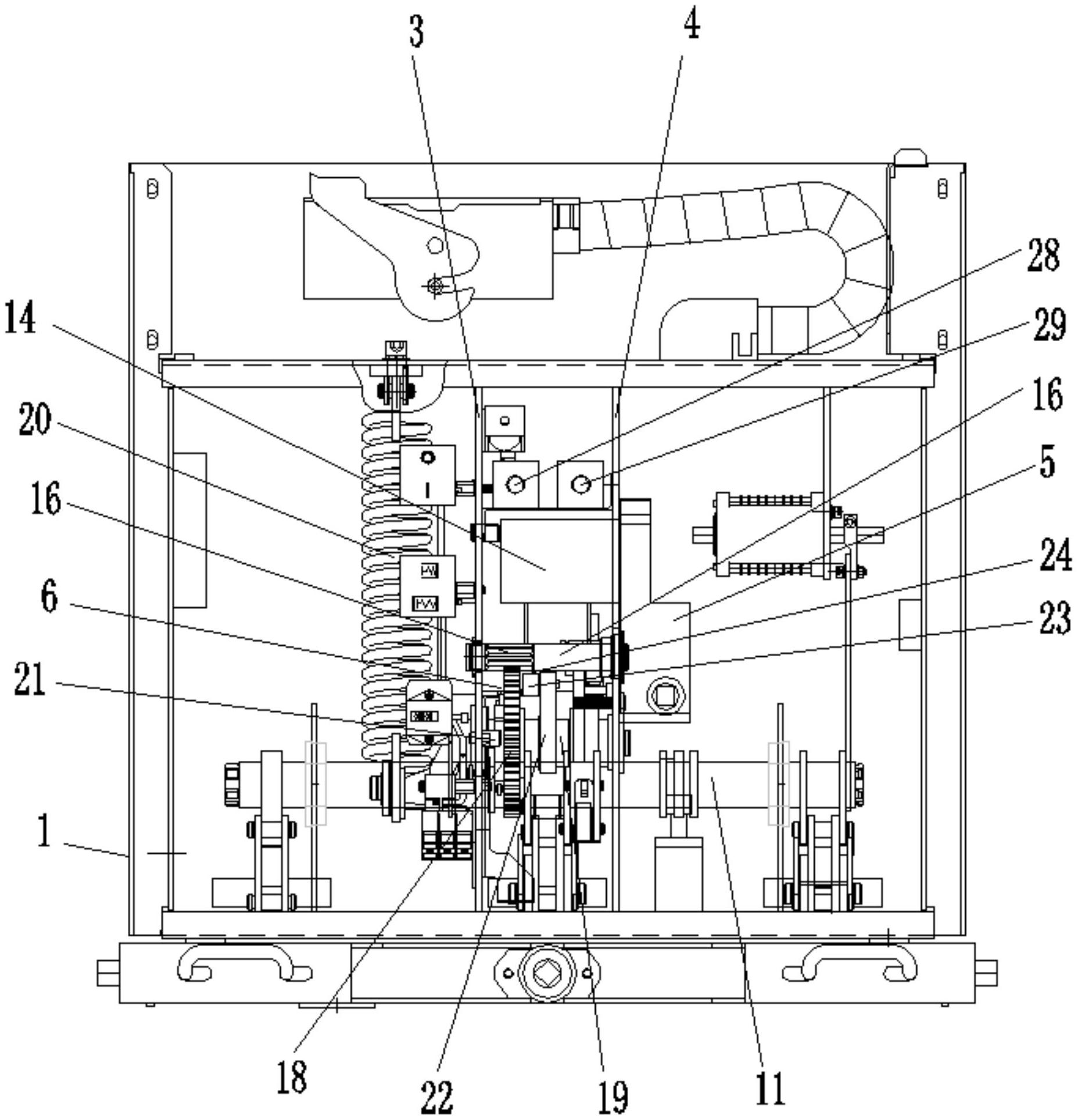
提供一种具有新型操动机构的小型化10KV高压真空断路器,将固封极柱固定于L形结构的箱体后侧下顶面上,箱体内部的左隔板和右隔板平行设置并固定于箱体中部,两用型储能装置下方的弹簧操动机构安装于左隔板和右隔板上,两用型储能装置与弹簧操动机构连接,并由两用型储能装置通过驱动弹簧操动机构驱动传动主拐臂顺时针或逆时针旋转从而使绝缘拉杆与固封极柱中的真空灭弧室实现分闸或合闸的动作。本实用新型通过对高压真空断路器中的储能部分以及传动部分进行重置优化设计,大大简化了10KV高压真空断路器的内部结构,安装配合结构简单易操作,易于维修,减小了零件数量,缩小了10KV高压真空断路器的体积,满足高压真空断路器小型化发展要求。


