授权公布号:CN110265267B
衔铁可稳定复位的继电器
有效
申请
2019-06-25
申请公布
2019-09-20
授权
2024-03-12
预估到期
2039-06-25
| 申请号 | CN201910571513.0 |
| 申请日 | 2019-06-25 |
| 申请公布号 | CN110265267A |
| 申请公布日 | 2019-09-20 |
| 授权公布号 | CN110265267B |
| 授权公告日 | 2024-03-12 |
| 分类号 | H01H51/06;H01H50/18;H01H50/36 |
| 分类 | 基本电气元件; |
| 申请人名称 | 宁波天波港联电子有限公司 |
| 申请人地址 | 浙江省宁波市鄞州区横溪镇工业区 |
专利法律状态
2024-03-12
授权
状态信息
授权
2019-10-22
实质审查的生效
状态信息
实质审查的生效;IPC(主分类):H01H51/06;申请日:20190625
2019-09-20
公布
状态信息
公布
摘要
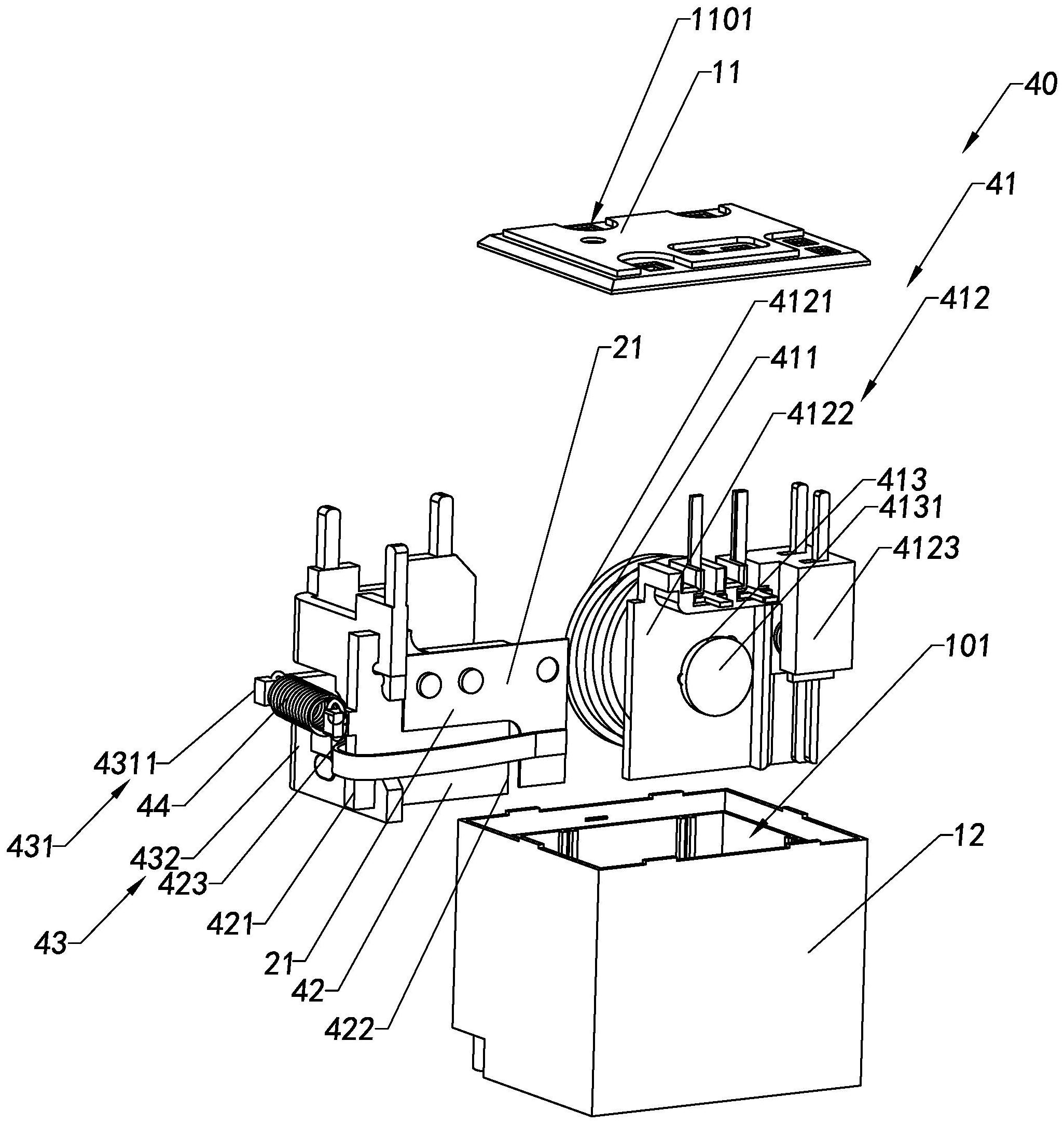
本发明公开一衔铁可稳定复位的继电器,其包括一外壳、一动簧组件、一静簧组件以及一联动组件,其中所述外壳形成一安装空间,所述动簧组件被设置于安装空间,其中所述动簧组件包括一动簧片、一对动触包、一动簧插脚和一插脚触包,其中一对所述动触包分别被设置于所述动簧片的两侧面,插脚触包被设置于所述动簧插脚,其中所述静簧组件被设置于所述安装空间,所述静簧组件包括一静簧插脚和一静触包,其中所述静触包被与其中一个所述动触包相对地设置,其中所述联动组件包括一线圈组件、一轭铁、一拉簧和一衔铁,其中所述衔铁通过所述轭铁和所述拉簧被可枢转地耦接于所述线圈组件,其中所述轭铁设有一限位凸起,从而使得所述衔铁可稳定地复位。


