授权公布号:CN2596640Y
电缆接头
有效
申请
2002-12-20
申请公布
1970-01-01
授权
2003-12-31
预估到期
2012-12-20
| 申请号 | CN02293479.0 |
| 申请日 | 2002-12-20 |
| 授权公布号 | CN2596640Y |
| 授权公告日 | 2003-12-31 |
| 分类号 | H02G15/02;H01R11/00 |
| 分类 | 发电、变电或配电; |
| 申请人名称 | 合纵科技股份有限公司 |
| 申请人地址 | 北京市海淀区上地信息路19号商服中心314厅 |
专利法律状态
2021-11-09
授权
状态信息
授权
2013-02-20
专利权的终止
状态信息
专利权有效期届满;IPC(主分类):H02G 15/02;申请日:20021220;授权公告日:20031231期满;终止日期:20121220
2010-02-10
专利权人的姓名或者名称、地址的变更
状态信息
专利权人的姓名或者名称、地址的变更;变更事项:专利权人;变更前:北京合纵科技有限公司 ;地址:北京市海淀区上地信息路19号商服中心314厅,邮编:100085;变更后:北京合纵科技股份有限公司 ;地址:北京市海淀区上地三街9号嘉华大厦D座1211,邮编:100085
2003-12-31
实用新型专利权授予
状态信息
授权
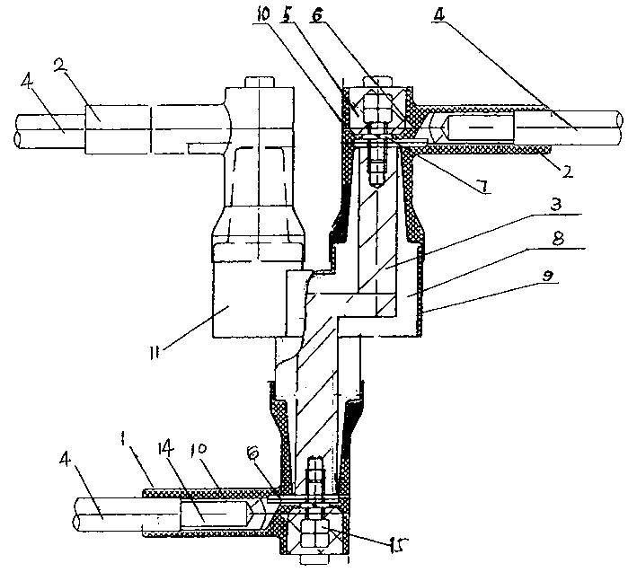
摘要
一种电缆接头,由进线端和出线端组成,其特征在于:对应一个进线端,可以有与之电连接的多个出线端,进线端与出线端位于电缆接头的两侧面,进线端和出线端均有T形本体和绝缘塞,将电缆接头,压接端子和导电铜排全封闭,全绝缘,电缆接头中的母排接板的绝缘采用二层绝缘结构,内层为绝缘胶料,外层为半导电屏蔽层。电缆接头的进线电缆和出线电缆可以完全分开,走线既整齐又美观,而且,在进出端之间可以安装一块隔板,将进线端和出线端从空间隔开,减少进出端的电缆交叉接线几率,解除了安全隐患,其操作方便安全。


