授权公布号:CN211496955U
一种多孔槽式炭化活化一体炉
有效
申请
2020-01-17
申请公布
1970-01-01
授权
2020-09-15
预估到期
2030-01-17
| 申请号 | CN202020114628.5 |
| 申请日 | 2020-01-17 |
| 授权公布号 | CN211496955U |
| 授权公告日 | 2020-09-15 |
| 分类号 | C01B32/39;C01B32/336 |
| 分类 | 无机化学; |
| 申请人名称 | 淮北市洁力活性炭有限责任公司 |
| 申请人地址 | 安徽省淮北市濉溪县濉溪经济开发区巴河路16# |
专利法律状态
2020-09-15
授权
状态信息
授权
摘要
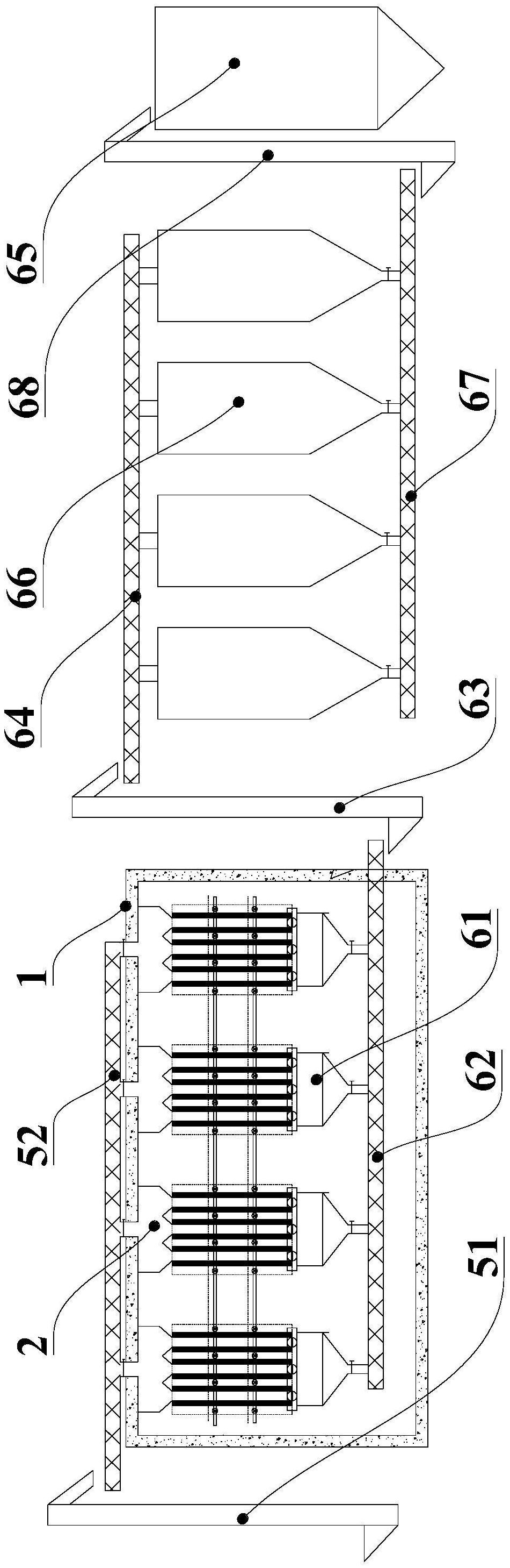
本实用新型提供了一种多孔槽式炭化活化一体炉,包括炉体和至少一个产品线,所述产品线包括设置于炉体上方的入料口、至少一个处于炉体内部的竖直下料槽、与下料槽配合的收料机构;所述下料槽由炉体和连接炉体的多孔墙围合构成,相邻下料槽的多孔墙间隔设置形成竖直的气道;所述多孔墙上设置有气孔,所述气道被依次划分为炭化段、炭化预热段和活化段;所述活化段的气道上连通有空气管道,活化段的下料槽连通有水蒸气管道。本实用新型提供的多孔槽式炭化活化一体炉的优点在于:通过挥发份在气道内燃烧为炉体提供热量,不需要额外热源,降低能耗和尾气排放;通过配置多个产品线能够同时加工不同原料的活性炭,效率显著提高。


