授权公布号:CN208454504U
一种用于活性炭生产的冷却装置
有效
申请
2018-06-19
申请公布
1970-01-01
授权
2019-02-01
预估到期
2028-06-19
| 申请号 | CN201820944219.0 |
| 申请日 | 2018-06-19 |
| 授权公布号 | CN208454504U |
| 授权公告日 | 2019-02-01 |
| 分类号 | C01B32/39 |
| 分类 | 无机化学; |
| 申请人名称 | 淮北市洁力活性炭有限责任公司 |
| 申请人地址 | 安徽省淮北市濉溪县濉溪经济开发区巴河路北16# |
专利法律状态
2023-09-01
专利权质押合同登记的生效、变更及注销
状态信息
专利权质押合同登记的生效;IPC(主分类):C01B 32/39;专利号:ZL2018209442190;登记号:Y2023980052508;登记生效日:20230817;出质人:淮北市洁力活性炭有限责任公司;质权人:淮北农村商业银行股份有限公司科技支行;实用新型名称:一种用于活性炭生产的冷却装置;申请日:20180619;授权公告日:20190201
2023-08-29
专利权质押合同登记的生效、变更及注销
状态信息
专利权质押合同登记的注销;IPC(主分类):C01B 32/39;授权公告日:20190201;申请日:20180619;专利号:ZL2018209442190;登记号:Y2022980012587;出质人:淮北市洁力活性炭有限责任公司;质权人:淮北农村商业银行股份有限公司科技支行;解除日:20230810
2022-09-02
专利权质押合同登记的生效、变更及注销
状态信息
专利权质押合同登记的生效;IPC(主分类):C01B32/39;登记号:Y2022980012587;登记生效日:20220816;出质人:淮北市洁力活性炭有限责任公司;质权人:淮北农村商业银行股份有限公司科技支行;实用新型名称:一种用于活性炭生产的冷却装置;申请日:20180619;授权公告日:20190201
2022-08-23
专利权质押合同登记的生效、变更及注销
状态信息
专利权质押合同登记的注销;IPC(主分类):C01B32/39;授权公告日:20190201;申请日:20180619;登记号:Y2021980007194;出质人:淮北市洁力活性炭有限责任公司;质权人:淮北农村商业银行股份有限公司信泰支行;解除日:20220808
2021-08-20
专利权质押合同登记的生效、变更及注销
状态信息
专利权质押合同登记的生效;IPC(主分类):C01B32/39;登记号:Y2021980007194;登记生效日:20210803;出质人:淮北市洁力活性炭有限责任公司;质权人:淮北农村商业银行股份有限公司信泰支行;实用新型名称:一种用于活性炭生产的冷却装置;申请日:20180619;授权公告日:20190201
2021-08-06
专利权质押合同登记的生效、变更及注销
状态信息
专利权质押合同登记的注销;IPC(主分类):C01B32/39;授权公告日:20190201;申请日:20180619;登记号:Y2020980003939;出质人:淮北市洁力活性炭有限责任公司;质权人:淮北农村商业银行股份有限公司信泰支行;解除日:20210722
2020-08-04
专利权质押合同登记的生效、变更及注销
状态信息
专利权质押合同登记的生效;IPC(主分类):C01B32/39;登记号:Y2020980003939;登记生效日:20200709;出质人:淮北市洁力活性炭有限责任公司;质权人:淮北农村商业银行股份有限公司信泰支行;实用新型名称:一种用于活性炭生产的冷却装置;申请日:20180619;授权公告日:20190201
2019-02-01
授权
状态信息
授权
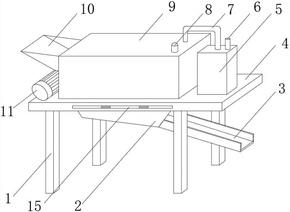
摘要
本实用新型公开了一种用于活性炭生产的冷却装置,包括底板,所述底板的上端外表面固定安装有冷却箱与除尘箱,所述冷却箱的上端外表面固定安装有警示灯,且冷却箱的一侧外表面固定安装有进料板与鼓风机,所述除尘箱的上端外表面固定安装有U型管与出风管,所述底板的下端外表面固定安装有立柱与漏斗,所述漏斗的一侧固定安装有滑板,所述冷却箱的内部活动安装有翻动机构,所述漏斗与底板之间活动安装有出料板。本实用新型所述的一种用于活性炭生产的冷却装置,设有翻动机构、除尘箱与警示灯,可以提高冷却效率,能够保护操作人员的工作环境,还在冷却完成后提示操作人员,带来更好的使用前景。


