授权公布号:CN212676201U
一种双电源操作机构
有效
申请
2020-06-02
申请公布
1970-01-01
授权
2021-03-09
预估到期
2030-06-02
| 申请号 | CN202020978604.4 |
| 申请日 | 2020-06-02 |
| 授权公布号 | CN212676201U |
| 授权公告日 | 2021-03-09 |
| 分类号 | H01H71/70;H01H71/10;H01H71/43 |
| 分类 | 基本电气元件; |
| 申请人名称 | 法泰电器(江苏)股份有限公司 |
| 申请人地址 | 江苏省苏州市相城区康元路666号 |
专利法律状态
2021-03-09
授权
状态信息
授权
摘要
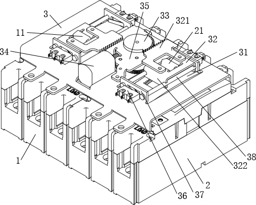
本实用新型公开了一种双电源操作机构,其特征在于:包括底座,底座上设有两个矩形槽,底座安装在两个断路器上,两个断路器的手柄分别穿过两个矩形槽,底座上还设有两个滑块,两个滑块之间设有一个驱动齿轮,两个滑块上设有齿条与驱动齿轮配合,驱动齿轮安装在底座上,驱动齿轮通过一个传动系统连接至电机,电机也安装在底座上,电机带动驱动齿轮转动,进而带动两个滑块滑动,两个滑块错时带动两个断路器的手柄,使两个断路器的动作关系为在一个断路器分闸之后另一个断路器再合闸。本实用新型整体结构简单,可以实现底高度、小尺寸的设计,尤其适用于对产品高度和宽度有要求的断路器上。


