授权公布号:CN108637736B
一种弧形板状件的工装系统
有效
申请
2018-07-06
申请公布
2018-10-12
授权
2024-02-13
预估到期
2038-07-06
| 申请号 | CN201810735058.9 |
| 申请日 | 2018-07-06 |
| 申请公布号 | CN108637736A |
| 申请公布日 | 2018-10-12 |
| 授权公布号 | CN108637736B |
| 授权公告日 | 2024-02-13 |
| 分类号 | B23Q3/06;B23Q3/10;B23Q11/00;B23B49/00;B23G1/48 |
| 分类 | 机床;不包含在其他类目中的金属加工; |
| 申请人名称 | 庆铃汽车(集团)有限公司 |
| 申请人地址 | 重庆市九龙坡区中梁山协兴村1号 |
专利法律状态
2024-02-13
授权
状态信息
授权
2018-11-06
实质审查的生效
状态信息
实质审查的生效;IPC(主分类):B23Q3/06;申请日:20180706
2018-10-12
公布
状态信息
公布
摘要
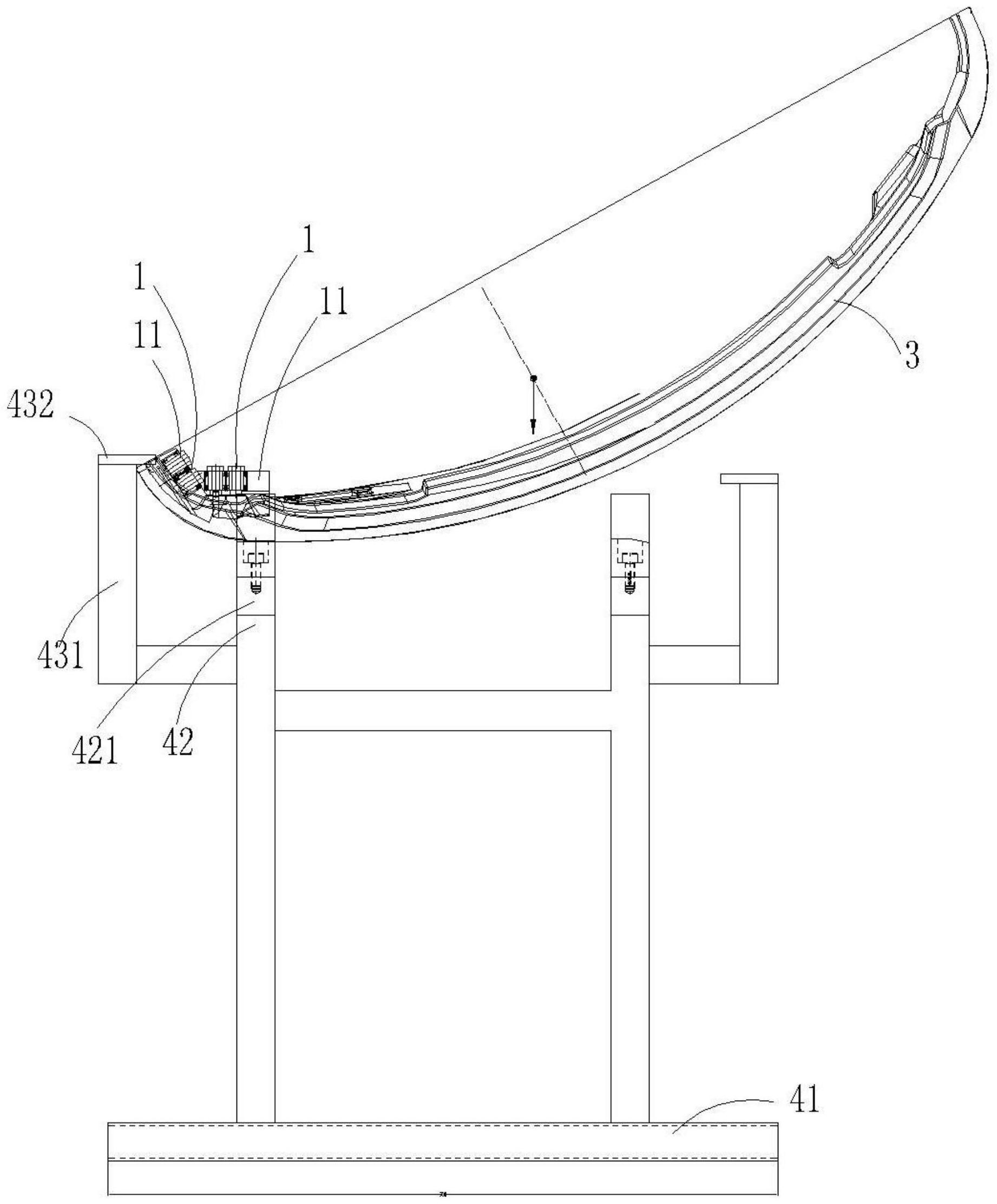
本发明提供一种弧形板状件的工装系统,用于解决现有技术中弧形板状件的孔的加工质量不高的问题。一种弧形板状件的工装系统,包括:工件自夹紧快速装拆支架,用于夹持工件,所述工件为弧形板状结构;所述组合钻孔攻丝工装包括:至少两个支撑本体,所述支撑本体和工件通过凸起结构和凹陷结构配合;安装在所述支撑本体上的导向组件,用于导向钻头;各个所述支撑本体之间通过中间连接机构连接,所述中间连接机构用于限制各个所述支撑本体的相对位置。在钻孔时,支撑本体不易发生晃动,提高了加工质量。


