授权公布号:CN220317052U
增压器专用夹持机构
有效
申请
2023-06-07
申请公布
1970-01-01
授权
2024-01-09
预估到期
2033-06-07
| 申请号 | CN202321439861.0 |
| 申请日 | 2023-06-07 |
| 授权公布号 | CN220317052U |
| 授权公告日 | 2024-01-09 |
| 分类号 | B66C1/10;B66C1/42 |
| 分类 | 卷扬;提升;牵引; |
| 申请人名称 | 庆铃汽车(集团)有限公司 |
| 申请人地址 | 重庆市九龙坡区中梁山协兴村1号 |
专利法律状态
2024-01-09
授权
状态信息
授权
摘要
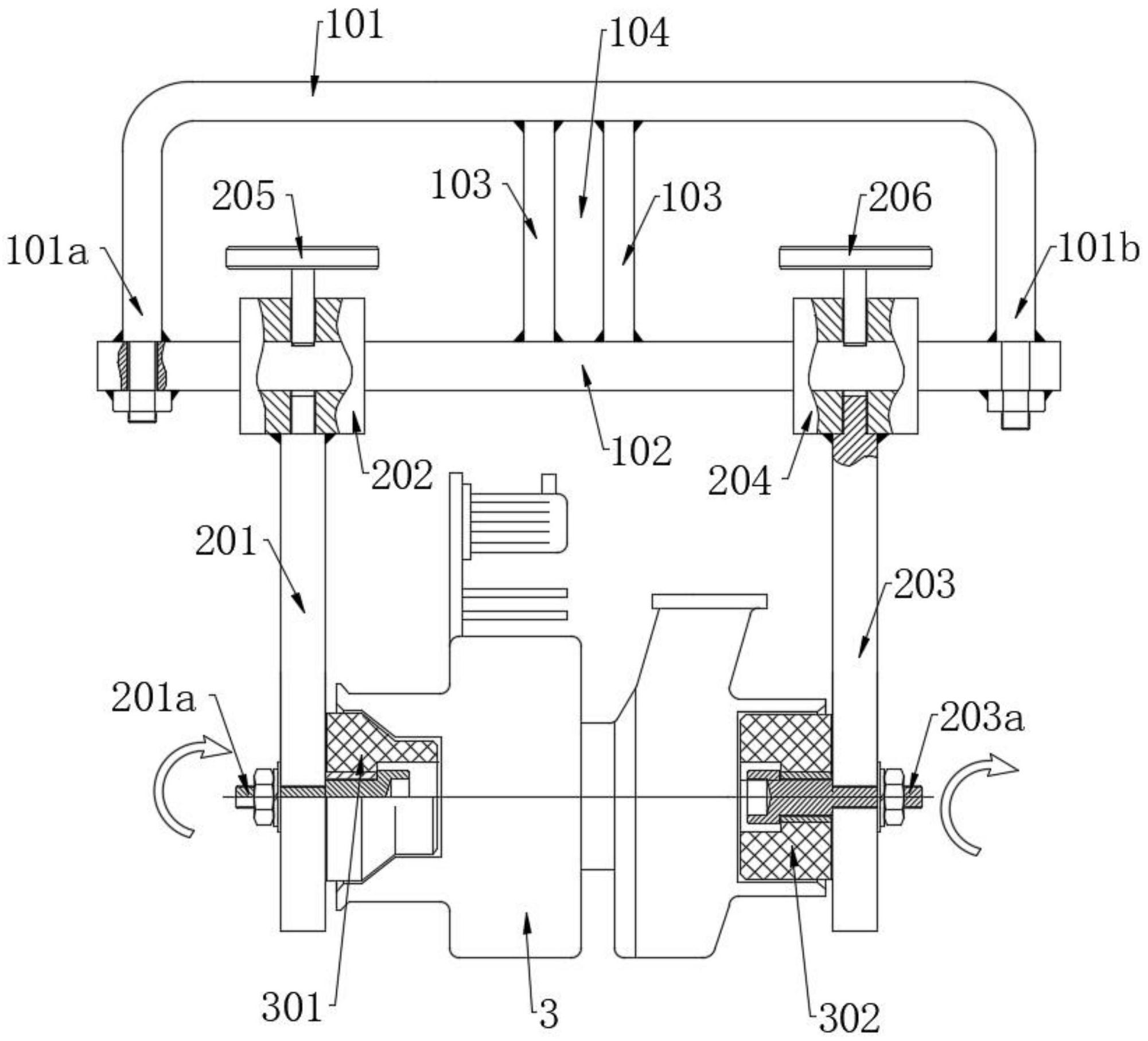
本实用新型属于汽车零部件装配夹具技术领域,涉及一种增压器专用夹持机构,包括吊轨和滑动设置在所述吊轨上的电动葫芦,增压器专用夹持机构还包括:吊具本体,吊具本体与电动葫芦上的吊钩连接;夹持组件,设置在吊具本体上,夹持组件用于夹持增压器,增压器转动连接在所述夹持组件上。通过电动葫芦将吊具本体吊至装配工位,并将增压器与发动机对应的安装面对齐。通过采用本申请的技术方案,在增压器装配工位能够有效完成装配作业,且装配过程无需作业人员抱持增压器对准发动机对应安装面,有效降低了作业人员的劳动强度,同时降低了作业人员抱持增压器易掉落造成人员伤害的风险,从而降低了安全事故的发生,并且具有提高生产效率的有益效果。


