授权公布号:CN208233707U
一种供存放缓释制剂的便携袋
有效
申请
2018-04-11
申请公布
1970-01-01
授权
2018-12-14
预估到期
2028-04-11
| 申请号 | CN201820507370.8 |
| 申请日 | 2018-04-11 |
| 授权公布号 | CN208233707U |
| 授权公告日 | 2018-12-14 |
| 分类号 | B65D33/14;B65D30/02;F24F1/04 |
| 分类 | 输送;包装;贮存;搬运薄的或细丝状材料; |
| 申请人名称 | 艾缇高科技材料(上海)有限公司 |
| 申请人地址 | 上海市松江区茸华路816号9栋 |
专利法律状态
2018-12-14
授权
状态信息
授权
摘要
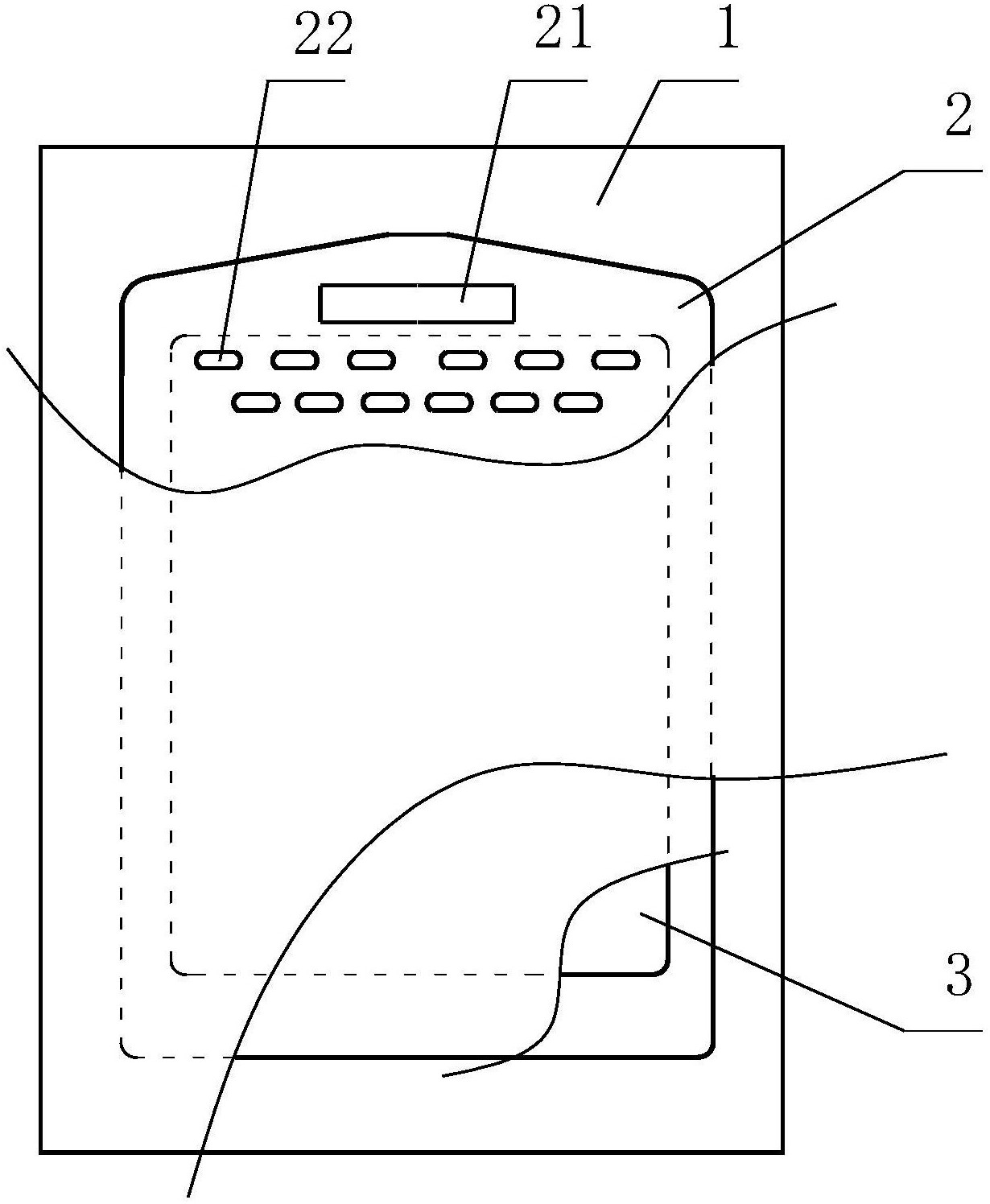
本实用新型涉及一种供存放缓释制剂的便携袋,包括外袋、中间吊挂袋、收纳缓释制剂的内袋,内袋袋体为聚酯纤维膜;所述中间吊挂袋含卡扣吊挂孔和容纳内袋的开口空腔,在卡扣吊挂孔下部区域袋体一侧表面开设有若干个通孔,所述外袋设有容纳中间吊挂袋开口空腔,内袋置于中间吊挂袋的开口腔内后中间吊挂袋的开口封闭,中间吊挂袋置于外袋的开口空腔内后外袋的开口封闭,外袋内腔呈密封状态。本实用新型同现有技术相比,具有如下优点:本产品结构简单,在除去便携袋的外袋后,中间吊挂袋可通过卡扣或吊挂方式使用,或将中间吊挂袋直接放入人的上衣口袋中,随着缓释制剂的缓慢释放,在人的呼吸区域形成一个良好的气场。


