授权公布号:CN117303716B
一种耐热性高硼硅玻璃循环式生产设备
有效
申请
2023-10-11
申请公布
2023-12-29
授权
2024-03-19
预估到期
2043-10-11
| 申请号 | CN202311310948.2 |
| 申请日 | 2023-10-11 |
| 申请公布号 | CN117303716A |
| 申请公布日 | 2023-12-29 |
| 授权公布号 | CN117303716B |
| 授权公告日 | 2024-03-19 |
| 分类号 | C03B9/40 |
| 分类 | 玻璃;矿棉或渣棉; |
| 申请人名称 | 安徽鑫民玻璃股份有限公司 |
| 申请人地址 | 安徽省滁州市凤阳工业园 |
专利法律状态
2024-03-19
授权
状态信息
授权
2024-01-16
实质审查的生效
状态信息
实质审查的生效;IPC(主分类):C03B9/40;申请日:20231011
2023-12-29
公布
状态信息
公布
摘要
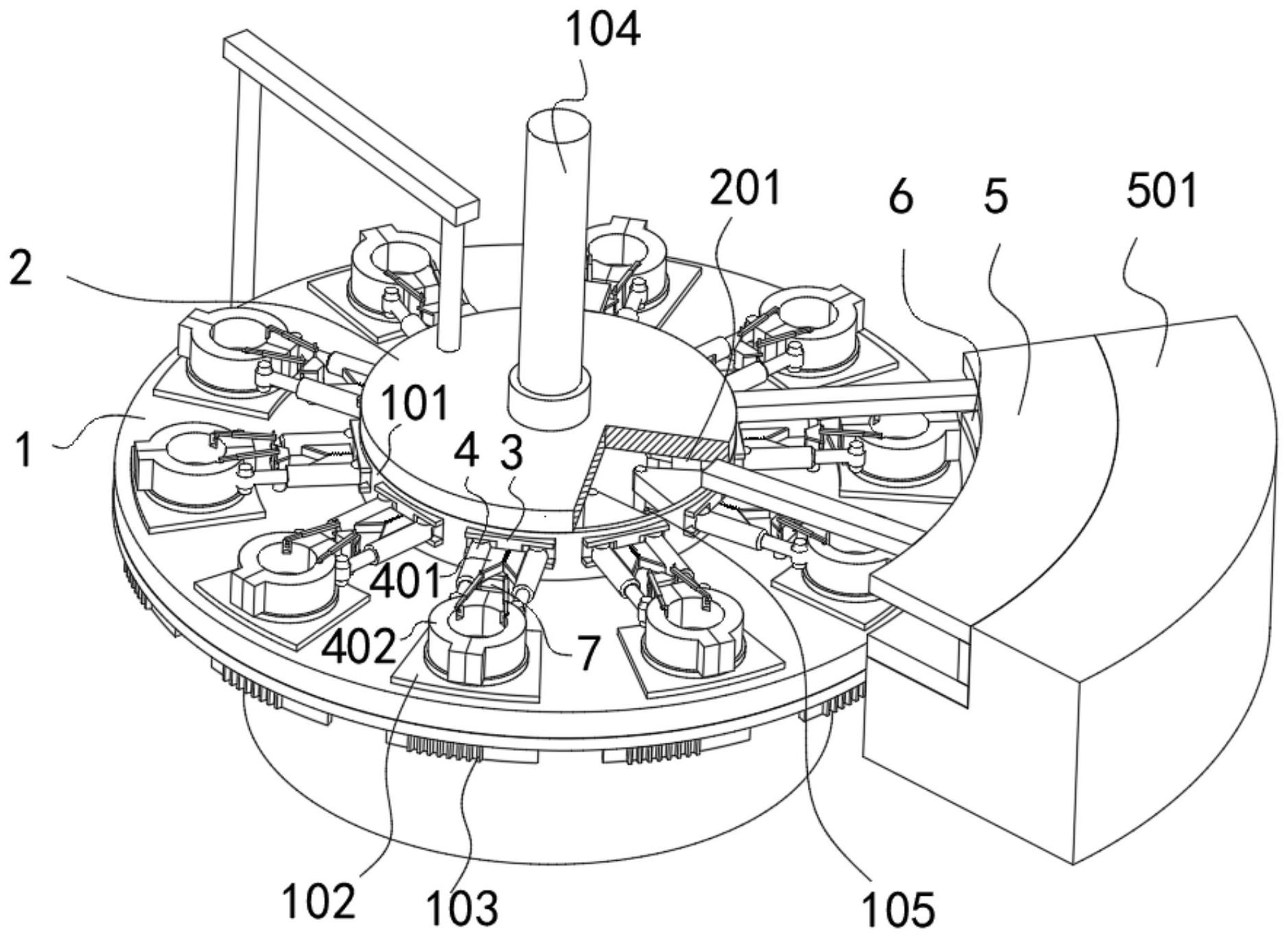
本发明公开了一种耐热性高硼硅玻璃循环式生产设备,涉及玻璃生产技术领域,包括加工转台和位于加工转台顶部的固定盖板,还包括弹性连接座,多个弹性连接座环形阵列分布于加工转台的台面上,弹性连接座的一端与加工转台弹性活动连接,另一端对称弹性铰接有夹臂,两个所述夹臂之间分别固定有相互抵接的抵板,转运通道,其内部安装有拨料组件,所述拨料组件与加工转台间歇传动连接,抵接件,其位于两个夹臂之间,并分别与两边的抵板抵接配合,固定盖板底部靠近转运通道的一侧固定连接有挡杆,各所述弹性连接座的一侧依次与挡杆相抵。本发明通过设置转动的加工转台来移动各弹性连接座上的一对夹臂,让胚体在处理过程中逐渐移至转运通道内。


