授权公布号:CN109008767B
一种多功能擦玻璃装置
有效
申请
2018-08-23
申请公布
2018-12-18
授权
2020-07-24
预估到期
2038-08-23
| 申请号 | CN201810963893.8 |
| 申请日 | 2018-08-23 |
| 申请公布号 | CN109008767A |
| 申请公布日 | 2018-12-18 |
| 授权公布号 | CN109008767B |
| 授权公告日 | 2020-07-24 |
| 分类号 | A47L1/02 |
| 分类 | 家具;家庭用的物品或设备;咖啡磨;香料磨;一般吸尘器; |
| 申请人名称 | 台州市沃本塑业有限公司 |
| 申请人地址 | 浙江省台州市路桥区横街镇沙山村 |
专利法律状态
2022-11-01
专利权质押合同登记的生效、变更及注销
状态信息
专利权质押合同登记的生效;IPC(主分类):A47L1/02;登记号:Y2022330002532;登记生效日:20221014;出质人:台州市沃本塑业有限公司;质权人:台州银行股份有限公司;发明名称:一种多功能擦玻璃装置;申请日:20180823;授权公告日:20200724
2020-07-24
授权
状态信息
授权
2020-07-14
专利申请权、专利权的转移
状态信息
专利申请权的转移;IPC(主分类):A47L1/02;登记生效日:20200624;变更事项:申请人;变更前:陈熹;变更后:台州市沃本塑业有限公司;变更事项:地址;变更前:223735 江苏省宿迁市泗阳县裴圩镇东南村二组25号;变更后:318050 浙江省台州市路桥区横街镇沙山村
2019-01-11
实质审查的生效
状态信息
实质审查的生效;IPC(主分类):A47L1/02;申请日:20180823
2018-12-18
公布
状态信息
公布
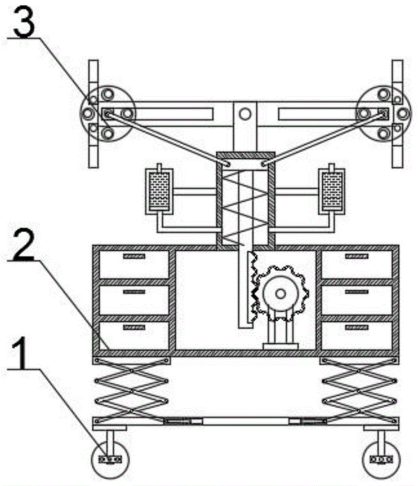
摘要
本发明涉及一种擦玻璃装置,更具体的说是一种多功能擦玻璃装置,包括可移动升高底架机构、储物机身机构、喷水擦玻璃执行机构,装置能够擦玻璃,装置能够升高擦玻璃,装置能够自动喷水,为刷子补充水,装置能够移动擦玻璃,装置能够固定位置擦玻璃,装置能够储存清洁物品,可移动升高底架机构位于储物机身机构的下方,可移动升高底架机构与储物机身机构的连接方式为螺栓连接,喷水擦玻璃执行机构位于储物机身机构的上方,喷水擦玻璃执行机构与储物机身机构的方式为部分焊接、部分螺栓连接。


