授权公布号:CN213732214U
一种用于板式家具生产的自动钻孔装置
有效
申请
2020-11-24
申请公布
1970-01-01
授权
2021-07-20
预估到期
2030-11-24
| 申请号 | CN202022744782.3 |
| 申请日 | 2020-11-24 |
| 授权公布号 | CN213732214U |
| 授权公告日 | 2021-07-20 |
| 分类号 | B27C3/04 |
| 分类 | 木材或类似材料的加工或保存;一般钉钉机或钉U形钉机; |
| 申请人名称 | 成都市更新家具有限公司 |
| 申请人地址 | 四川省成都崇州经济开发区崇阳大道122号 |
专利法律状态
2021-07-20
授权
状态信息
授权
摘要
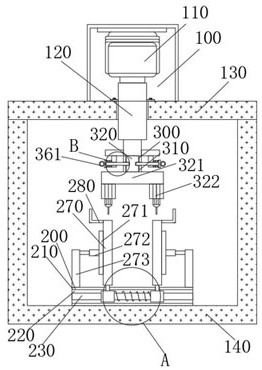
本实用新型涉及自动钻孔装置技术领域,具体为一种用于板式家具生产的自动钻孔装置,包括自动钻孔装置主体,所述自动钻孔装置主体包括电机,所述电机的底部固定安装有电动伸缩杆,且电动伸缩杆的外侧固定安装有自动钻孔装置上盖,所述自动钻孔装置上盖的底部固定安装有自动钻孔装置机体,所述自动钻孔装置机体顶部的中间位置处设置有定位机构,且定位机构包括放置台,所述自动钻孔装置机体顶部的中间位置处固定安装有放置台,且滑块的顶部固定安装有连接短杆,所述连接短杆的顶部固定安装有夹持板,解决了不方便对加工中的板材进行固定的问题,使板材在加工过程中更加的稳定,不会发生偏移的现象,大大的提高了装置整体的工作效率。


