授权公布号:CN214446920U
一种精度可调的浸渍纸切纸机构
有效
申请
2020-12-29
申请公布
1970-01-01
授权
2021-10-22
预估到期
2030-12-29
| 申请号 | CN202023236511.3 |
| 申请日 | 2020-12-29 |
| 授权公布号 | CN214446920U |
| 授权公告日 | 2021-10-22 |
| 分类号 | B26D7/26;B26D7/28;B26D1/08 |
| 分类 | 手动切割工具;切割;切断; |
| 申请人名称 | 河北思诺装饰材料有限公司 |
| 申请人地址 | 河北省石家庄市行唐县经济开发区科技大街路北 |
专利法律状态
2021-10-22
授权
状态信息
授权
摘要
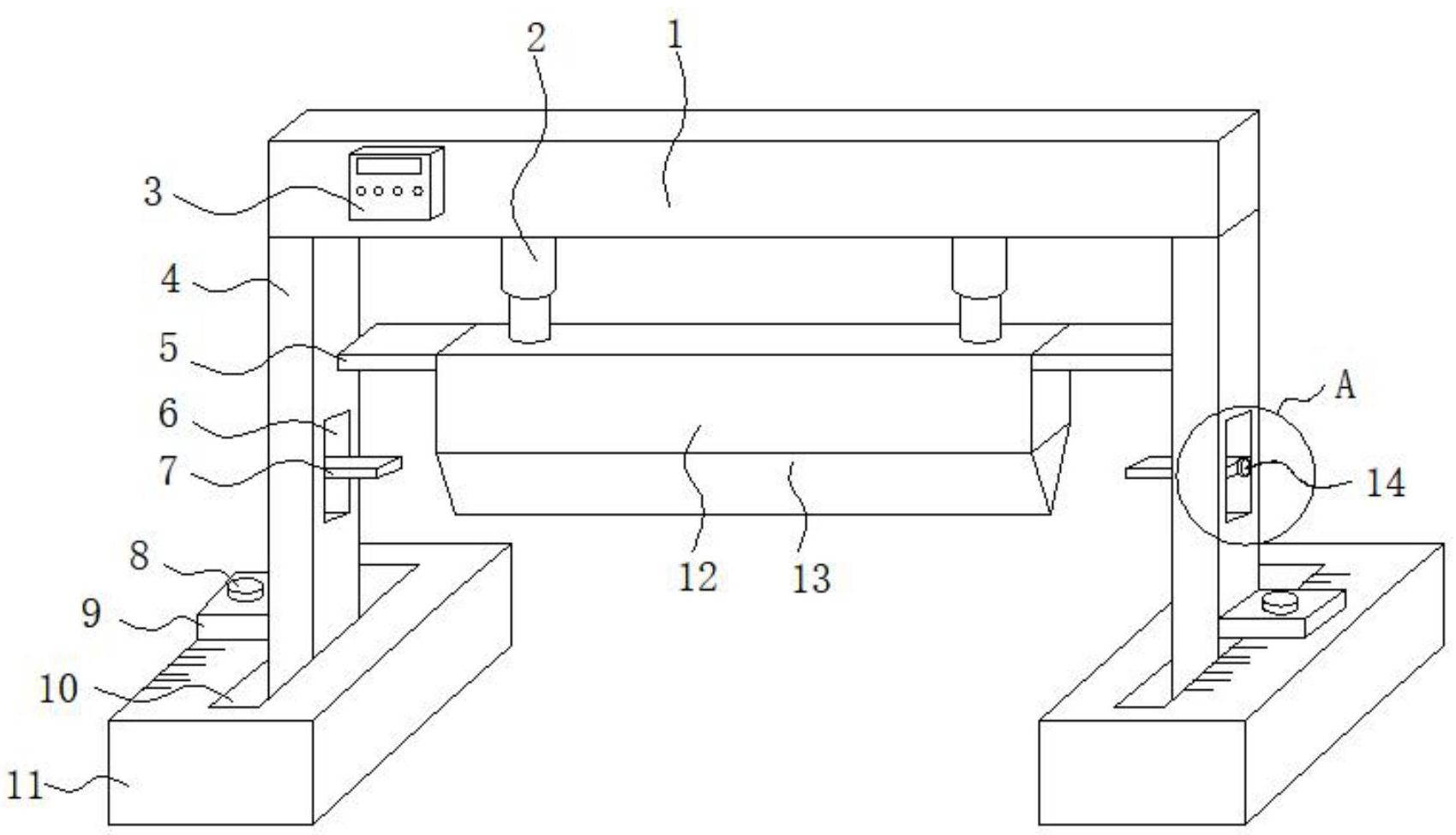
本实用新型涉及浸渍纸生产技术领域,尤其是一种精度可调的浸渍纸切纸机构,针对现有技术中的浸渍纸切纸机构调节不方便的问题,现提出如下方案,其包括两个底板、活动安装在两个底板顶部的竖直板、固定在竖直板顶部的横板、安装在横板底部的两个电动伸缩杆、固定在两个电动伸缩杆底部的刀具座和固定在刀具座上的切刀,两个所述底板的顶部均开设有滑槽,两个竖直板的底部分别延伸至两个滑槽的内部与两个滑槽滑动连接,两个竖直板上均安装有固定竖直板的锁定机构。本实用新型结构合理,操作简单,不仅可以方便的对切刀的位置进行精确的调节,而且可以避免电动伸缩杆工作时产生的波动对切割精度带来的影响,易于推广使用。


