授权公布号:CN215654921U
一种混合涂料浆料混合装置
有效
申请
2021-09-15
申请公布
1970-01-01
授权
2022-01-28
预估到期
2031-09-15
| 申请号 | CN202122238619.4 |
| 申请日 | 2021-09-15 |
| 授权公布号 | CN215654921U |
| 授权公告日 | 2022-01-28 |
| 分类号 | B01F31/00;B01F101/30N |
| 分类 | 一般的物理或化学的方法或装置; |
| 申请人名称 | 杭州博思特装饰材料有限公司 |
| 申请人地址 | 浙江省杭州市临安市太湖源镇浪口村 |
专利法律状态
2022-01-28
授权
状态信息
授权
摘要
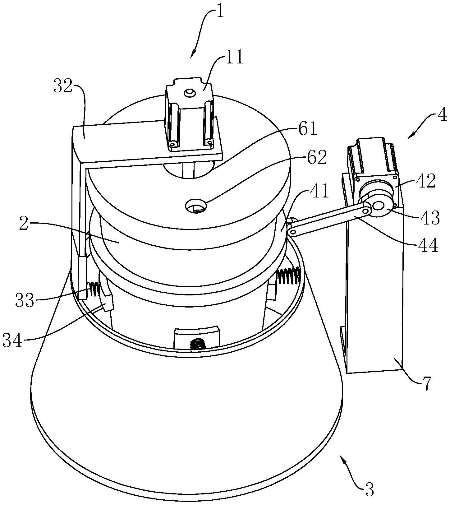
本申请涉及涂料设备领域,尤其是涉及一种混合涂料浆料混合装置,包括混料桶和搅拌组件,还包括置桶架,混料桶设置在置桶架上,置桶架与混料桶之间连接有弹簧,并且混料桶的底部和置桶架能够相对运动;搅拌组件设置于置桶架上;本申请具有使涂料浆料混合的更均匀的作用。


